https://mobilku.s3.ap-southeast-3.amazonaws.com/assets/logoHeader.png
https://mobilku.s3.ap-southeast-3.amazonaws.com/assets/human-logo.png
https://mobilku.s3.ap-southeast-3.amazonaws.com/news/1000/645115b9-93c9-4d59-8bc7-936a98f7bd3a.jpeg
https://mobilku.s3.ap-southeast-3.amazonaws.com/news/1000/22c94e2d-6285-4a19-8f71-b58d03a5fde5.jpeg
https://mobilku.s3.ap-southeast-3.amazonaws.com/news/1000/f586f604-ed3c-4669-9d51-8b9454766226.jpeg
https://mobilku.s3.ap-southeast-3.amazonaws.com/news/1000/ec7556a7-0cc8-4bf0-8c8b-058eb25d6261.jpeg
https://mobilku.s3.ap-southeast-3.amazonaws.com/news/1000/410a6896-5db0-40d9-8959-72f12686321a.jpeg
https://mobilku.s3.ap-southeast-3.amazonaws.com/news/1000/645115b9-93c9-4d59-8bc7-936a98f7bd3a.jpeg
https://mobilku.s3.ap-southeast-3.amazonaws.com/news/1000/22c94e2d-6285-4a19-8f71-b58d03a5fde5.jpeg

VW Patenkan Desain Plafon ala Rolls-Royce

17 April 2023

dilihat 1.244x

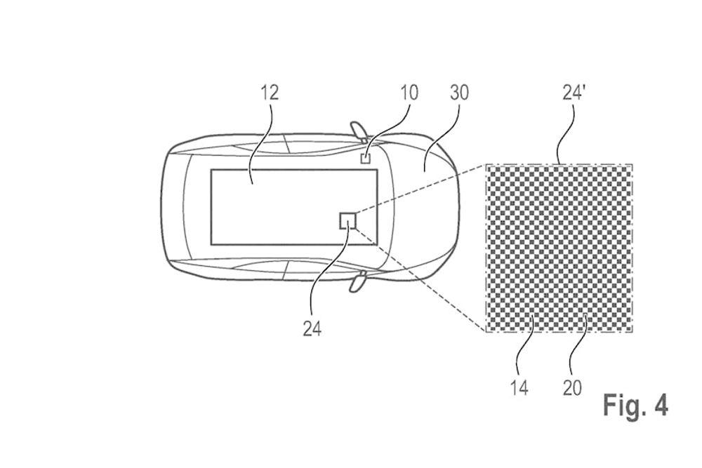
Mobilku.com - Volkswagen belum lama ini telah mengajukan atap interior (headliner) baru yang kabarnya lebih mewah dan lebih nyaman dibandingkan dari milik Rolls-Royce.


Dengan paten ini, VW sepertinya memiliki rencana besar agar headlinernya dapat menciptakan suasana interior yang lebih menyenangkan. Paten tersebut menjelaskan bahwa headliner dibentuk dengan elemen pencahayaan dan lubang ventilasi yang siap mendinginkan/menghangatkan penumpang.


Headliner VW mungkin tidak lebih canggih jika dibandingkan dengan Rolls-Royce, terutama pada sisi grafik yang dapat di ubah-ubah. Akan tetapi, VW percaya bahwa desain pencahayaan ulang serta lubang ventilasi akan membuat sirkulasi udara didalam mobil jadi lebih segar.


Walaupun lampunya tidak dapat di fully-custom, titik-titik lampu pada headliner ini dapat diatur menjadi pola yang menarik, salah satunya adalah rasi bintang. Selain itu, lampu-lampu ini juga dapat memiliki warna yang berbeda, seperti biru atau hijau saat mobil sedang berjalan, dan merah sebagai penanda jika pintu tidak ditutup dengan rapat atau pengingat sabuk pengaman.


Pada saat melakukan perjalanan jauh, penumpang mungkin ingin membaca buku, sehingga headliner dapat menerangi bagian tertentu dari mobil, sehingga tidak perlu menyalakan seluruh lampu untuk meneranginya.


Belum ada informasi apakah paten ini akan masuk produksi atau tidak. Akan tetapi, Volkswagen ID.7 sudah punya sistem ventilasi yang sama canggihnya seperti paten ini.




0 Komentar


Tambah Komentar