https://mobilku.s3.ap-southeast-3.amazonaws.com/assets/logoHeader.png
https://mobilku.s3.ap-southeast-3.amazonaws.com/assets/human-logo.png
https://mobilku.s3.ap-southeast-3.amazonaws.com/news/1000/536cf290-a550-458d-a124-a0574dee0cdb.jpg
https://mobilku.s3.ap-southeast-3.amazonaws.com/news/1000/0dfc9449-6981-44e8-a569-ec02a9bd03b0.jpg
https://mobilku.s3.ap-southeast-3.amazonaws.com/news/1000/22e6311b-1323-4123-855a-bd77bda98604.jpg
https://mobilku.s3.ap-southeast-3.amazonaws.com/news/1000/1431603a-5475-42e3-91fb-72919a40396f.jpg
https://mobilku.s3.ap-southeast-3.amazonaws.com/news/1000/2ecb7e5a-0cdb-4476-871e-864b98eb989f.jpg
https://mobilku.s3.ap-southeast-3.amazonaws.com/news/1000/536cf290-a550-458d-a124-a0574dee0cdb.jpg
https://mobilku.s3.ap-southeast-3.amazonaws.com/news/1000/0dfc9449-6981-44e8-a569-ec02a9bd03b0.jpg

Volvo Patenkan Teknologi yang Membuat Setir Mobil Bisa Digeser

03 October 2020

dilihat 312x

Mobilku.com - Volvo dikabarkan telah mengajukan sebuah paten mobil yang posisi mengemudinya dapat dipindahkan. Ini artinya mobil tersebut memungkinkan kita untuk mengubah posisi drive kanan ke drive kiri, atau sebaliknya dengan sangat mudah.


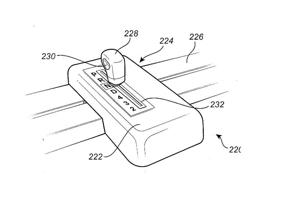
Mekanisme tersebut ditemukan saat perusahaan mendaftarkan paten terbarunya kepada United States Patent and Trademark Office (USPTO). Volvo menjelaskan bahwa instrument cluster dibuat menyatu dengan setir kemudi. Artinya, setir berikut panel di belakangnya bisa ikut digeser-geser dengan memanfaatkan rel kecil yang dipasang di dalam dasbor.


Lalu bagaimana dengan pedal gas dan rem di kaki saat setir berpindah posisi? Gambar memperlihatkan bahwa pabrikan asal Swedia ini merancang lubang kecil dengan bantalan penahan untuk posisi pedal kaki di kabin depan kiri dan kanan. Dengan demikian saat setir digeser, pedal juga bisa ikut dipindahkan.


Dengan cara ini, Volvo dapat menstandarkan suku cadang di pasar berkendara sebelah kiri dan kanan, sehingga mereka dapat mengurangi biaya produksi. Akan tetapi mekanisme ini pasti akan mengundang polemik di beberapa negara karena pengemudi tidak boleh sembarangan mengubah posisi kemudi.


Jika benar-benar diproduksi, mekanisme seperti ini mungkin saja dapat disalahgunakan dengan berbagai alasan dan dapat membahayakan banyak orang yang tidak terbiasa. Hal tersebut tentu bertentangan dengan tujuan utama Volvo yang selalu mementingkan keselamatan.

0 Komentar


Tambah Komentar