https://mobilku.s3.ap-southeast-3.amazonaws.com/assets/logoHeader.png
https://mobilku.s3.ap-southeast-3.amazonaws.com/assets/human-logo.png
https://mobilku.s3.ap-southeast-3.amazonaws.com/news/1000/1d4661ea-df00-48fa-9ac3-625f974bb9f2.jpg
https://mobilku.s3.ap-southeast-3.amazonaws.com/news/1000/2af1a0b0-25ac-4599-b9c5-acd516c519f5.jpg
https://mobilku.s3.ap-southeast-3.amazonaws.com/news/1000/82bff251-cedc-4dbc-95bc-efd652604a8d.jpg
https://mobilku.s3.ap-southeast-3.amazonaws.com/news/1000/861116cb-944d-4ff6-a97e-ec8214b30190.jpg
https://mobilku.s3.ap-southeast-3.amazonaws.com/news/1000/a09298e5-22d5-4ccd-9d42-61556f2e630a.jpg
https://mobilku.s3.ap-southeast-3.amazonaws.com/news/1000/740e8ba7-7492-474c-924c-4382eb9639ec.jpg
https://mobilku.s3.ap-southeast-3.amazonaws.com/news/1000/1d4661ea-df00-48fa-9ac3-625f974bb9f2.jpg
https://mobilku.s3.ap-southeast-3.amazonaws.com/news/1000/2af1a0b0-25ac-4599-b9c5-acd516c519f5.jpg

Volkswagen Daftarkan Paten Gagang Pintu Unik

28 April 2022

dilihat 246x

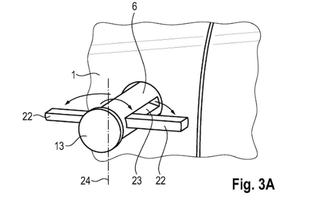
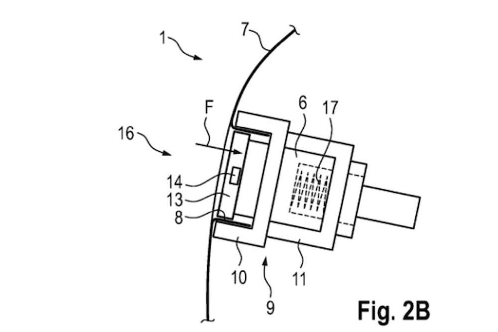
Mobilku.com - Volkswagen belum lama ini kedapatan telah mengajukan paten untuk sistem buka kunci baru yang cukup inovatif. Menurut paten yang terdaftar di German Patent and Trademark Office, gagang pintu masuk sudah didesain jauh berbeda, dimana kini terlihat lebih menonjol layaknya sebuah keran air.


Dari deskripsi paten yang didaftarkan, Volkswagen memulai desain seperti ini dengan pemikiran untuk menciptakan esensi kemudahan baru dalam pengoperasian gagang pintu. Sederhananya, gagang pintu seperti ini dinilai jauh lebih mudah, karena penumpang hanya cukup memutar tuas tersebut seperti mengoperasikan wastafel.


Uniknya, gagang pintu yang berputar ini tidak dipasangkan dengan mekanisme fisik. Beberapa bagian dari gagang pintu itu sepertinya dipasangkan secara elektronik melalui aktuator yang dapat membaca tekanan pada gagang pintu yang diberikan. Cara kerjanya mungkin harus sedikit ditekan, lalu diputar agar pintu bisa terbuka.


Ketika pintu sudah ditutup, pegangan pintu ini secara otomatis akan berubah menjadi sebuah knob kecil yang seamless dengan bodi kendaraan. Desain gagang pintu seperti ini diklaim akan menawarkan desain yang semakin mulus, dan tingkat efisiensi yang berbeda dibandingkan gagang pintu konvensional.


Secara keseluruhan pegangan pintu seperti ini berpotensi menjadi fitur desain yang cukup menarik. Bayangkan sebuah off-roader dengan pegangan pintu seperti brankas mungkin akan menjadi nilai jual yang unik dan menjadi pembeda dengan kompetitor.


Jujur, kami menyukai idenya. Bagaimana dengan kalian?

0 Komentar


Tambah Komentar