https://mobilku.s3.ap-southeast-3.amazonaws.com/assets/logoHeader.png
https://mobilku.s3.ap-southeast-3.amazonaws.com/assets/human-logo.png
https://mobilku.s3.ap-southeast-3.amazonaws.com/news/1000/691082fb-3c30-41b1-9955-e6a0bd9178fb.jpg
https://mobilku.s3.ap-southeast-3.amazonaws.com/news/1000/d1897db0-4b48-453a-902d-074a91ff16bd.jpg
https://mobilku.s3.ap-southeast-3.amazonaws.com/news/1000/cca2ac0a-70b5-4ef4-a579-298b83e482e4.jpg
https://mobilku.s3.ap-southeast-3.amazonaws.com/news/1000/5cfcb40c-1fa8-4d62-b0db-6ebc82f00296.jpg
https://mobilku.s3.ap-southeast-3.amazonaws.com/news/1000/1b7edce3-fcb2-4125-92d2-cee4ab761d4c.jpg
https://mobilku.s3.ap-southeast-3.amazonaws.com/news/1000/c82953fb-984f-4a20-9301-70ecb37b512f.jpg
https://mobilku.s3.ap-southeast-3.amazonaws.com/news/1000/691082fb-3c30-41b1-9955-e6a0bd9178fb.jpg
https://mobilku.s3.ap-southeast-3.amazonaws.com/news/1000/d1897db0-4b48-453a-902d-074a91ff16bd.jpg

Toyota Punya Teknologi Yang Bisa Mengubah Transmisi Otomatis Menjadi Seperti Manual

12 February 2022

dilihat 297x

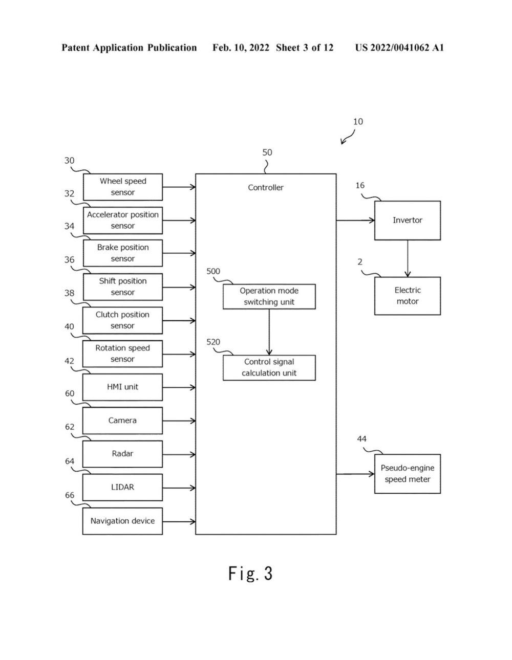
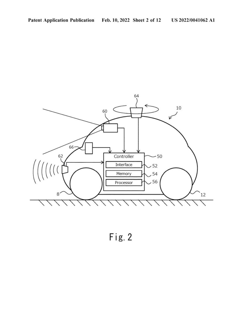
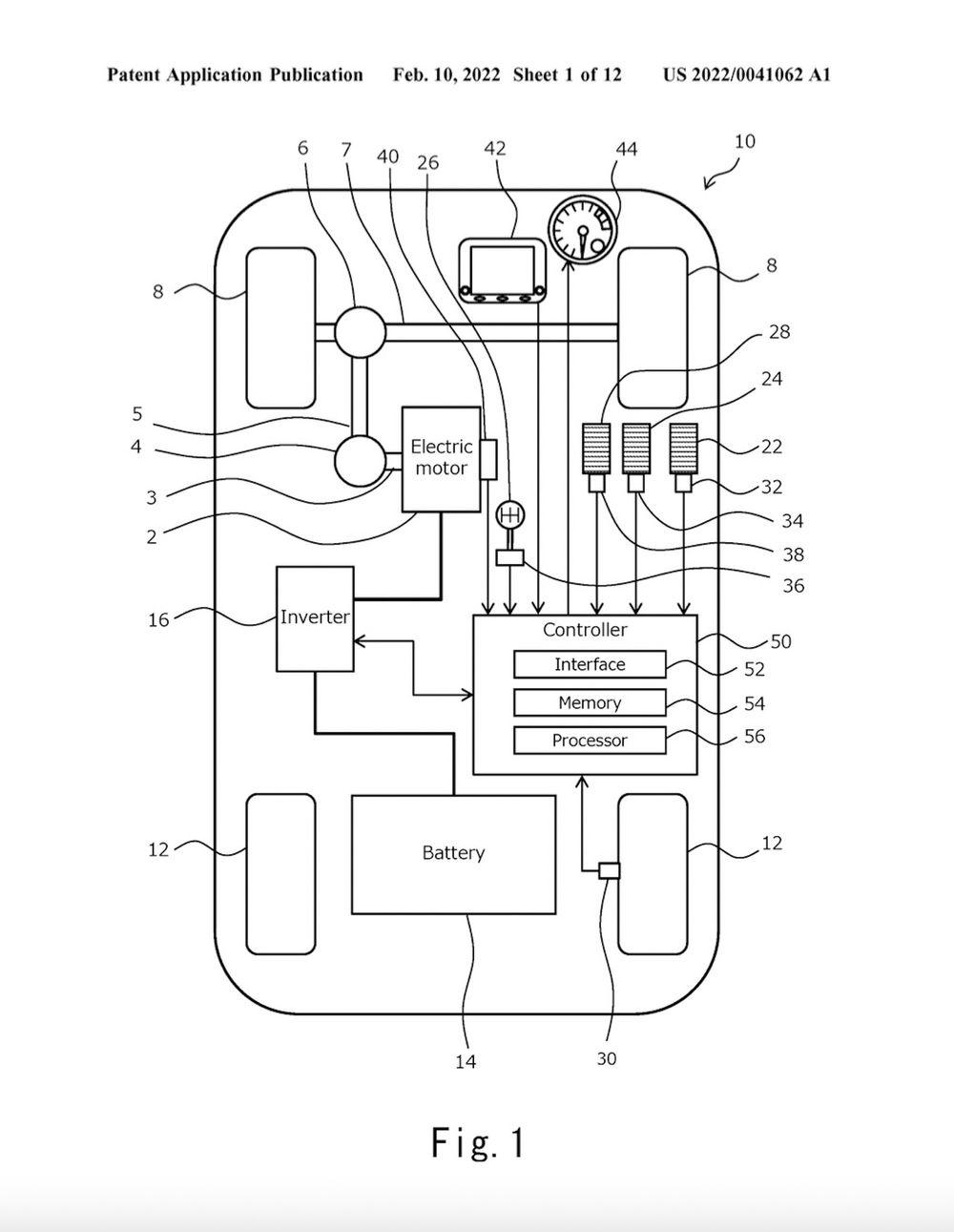
Mobilku.com - Transmisi manual sepertinya sudah menjadi pegangan bagi setiap pengemudi, sebelum akhirnya transisi otomatis menjadi sangat populer. Hampir semua kendaraan terbaru dan juga EV hadir dengan transmisi otomatis, membuat transmisi manual seperti sebuah barang langka.


Namun, para insinyur Toyota sepertinya punya ide untuk mengembalikan kejayaan transmisi manual. Menurut informasi yang beredar, Toyota dikabarkan telah mendaftarkan sebuah paten baru yang membuat transmisi otomatis seolah-olah seperti transmisi manual.


Metode ini juga mencakup sistem kopling, perpindahan gigi, hingga metode menghentikan aliran torsi seperti mengendarai mobil bermesin pembakaran dengan transmisi manual. Sayangnya tidak dijelaskan apakah akan ada kopling sungguhan, atau hanya tombol-tombol yang berfungsi sebagai kopling.


Berikut adalah kutipan dari salah satu paten yang didaftarkan:


“Teknologi ini memungkinan mobil listrik untuk memiliki tuas persneling dan pedal kopling untuk menjadi sebuah mobil bertransmisi manual. Tuas persneling dioperasikan oleh pengemudi untuk memilih mode tahapan roda gigi virtual, seolah-olah memindahkan gigi pada transmisi manual. Ketika gigi virtual bergerak, sistem akan menghitung performa serta besaran torsi yang harus dikeluarkan oleh mesin.”


Paten tersebut kabarnya akan menawarkan tiga mode yang berbeda. Pertama mode mengemudi dengan kopling dan manual transmisi. Kedua menghilangkan kebutuhan untuk menggunakan kopling, dan yang terakhir adalah kembali menggunakan mode otomatis.


Terlepas dari hanya gimmick atau tidak, paten ini secara tidak langsung akan membuat pengemudi yang tidak biasa dengan otomatis perlahan-lahan mulai bisa menggunakannya. Selain itu, bayangkan saja jika Supra EV di masa depan benar-benar tiba. Paten ini bisa jadi fitur yang sangat berguna bagi pengemudi yang ingin mengemudikan EV dengan transmisi manual.


Pada tahap ini kita tidak tahu apakah teknologinya akan benar-benar bagus, atau hanya sekadar fitur nostalgia semata. Jujur, kami sangat mendukung paten tersebut, terutama jika teknologinya benar-benar dapat beralih antara mode manual dan otomatis secara smooth.


Bagaimana menurut kalian? Ingin mencoba sensasi transmisi manual di mobil otomatis?

0 Komentar


Tambah Komentar