https://mobilku.s3.ap-southeast-3.amazonaws.com/assets/logoHeader.png
https://mobilku.s3.ap-southeast-3.amazonaws.com/assets/human-logo.png
https://mobilku.s3.ap-southeast-3.amazonaws.com/news/1000/23eeaca0-c996-42b3-a143-c52cd469c626.png
https://mobilku.s3.ap-southeast-3.amazonaws.com/news/1000/b1959111-d418-4ebb-9c84-16903b64007b.jpeg
https://mobilku.s3.ap-southeast-3.amazonaws.com/news/1000/7926abe0-15ac-4bb6-8ed8-d1e419d59b12.png
https://mobilku.s3.ap-southeast-3.amazonaws.com/news/1000/ecbbec65-f991-4ea4-ad06-720c1e8e324e.png
https://mobilku.s3.ap-southeast-3.amazonaws.com/news/1000/98353d0b-1cd6-444b-a76e-b51955c52f22.png
https://mobilku.s3.ap-southeast-3.amazonaws.com/news/1000/23eeaca0-c996-42b3-a143-c52cd469c626.png
https://mobilku.s3.ap-southeast-3.amazonaws.com/news/1000/b1959111-d418-4ebb-9c84-16903b64007b.jpeg

Toyota Daftarkan Paten LSD Canggih Yang Bisa Beradaptasi Dengan Lingkungan

04 November 2023

dilihat 972x

Mobilku.com - Toyota belum lama ini telah mengajukan permohonan paten untuk teknologi limited-slip differential (LSD) yang dapat mengubah karakteristik berkendara berdasarkan lingkungan.


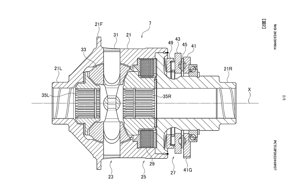
LSD adalah komponen dari gardan untuk mengunci as roda pada saat mobil melewati medan yang licin seperti lumpur atau bebatuan. Ketika salah satu roda yang terhubung ke poros mulai berputar, LSD akan mengunci roda tersebut dan mengirimkan tenaga ke roda di sisi berlawanan.


Menurut banyak pabrikan teknologi LSD saat ini sudah cukup baik untuk para pengendara mobil kebanyakan, terutama sistem LSD mekanis. Sayangnya, sistem LSD mekanis juga hadir dengan karakteristik yang kurang adaptif, dan itulah masalah yang ingin dipecahkan oleh Toyota di sini.


Toyota mengusulkan jenis diferensial baru yang terdiri dari roda gigi sisi pertama dan kedua yang ditempatkan dalam sebuah wadah sehingga kedua gigi tersebut dapat mendistribusikan torsi secara berbeda.


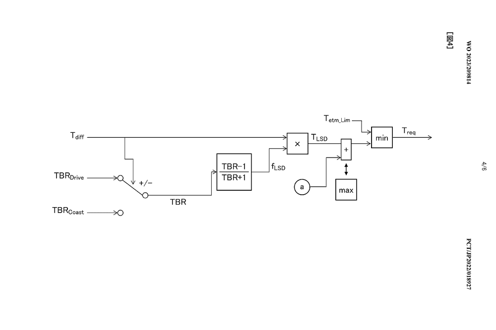
Ada juga kopling yang siap memberikan jeda antara gigi pertama dan kedua dan aktuator yang menerapkan gaya pada kopling untuk mengendalikan segalanya. Semua ini terhubung ke perangkat kontrol elektronik agar rasio torsi diferensial yang digunakan sesuai dengan kebutuhan.


Perangkat kontrol elektronik ini kemudian akan menghitung keluaran torsi yang diperlukan oleh masing-masing poros, yang akan dikontrol oleh aktuator kopling. Toyota juga mengatakan informasi yang diberikan oleh ECU juga dapat digunakan, termasuk kecepatan putaran gandar, sudut kemudi, akselerasi lateral, dan masih banyak lagi.


Toyota mengatakan diferensial ini canggih ini tidak akan membuat banyak perbedaan yang dapat mengganggu pengemudi berpengalaman. Dan karena variabelnya dapat berubah, Toyota memiliki lebih banyak ruang untuk bermain-main dengan mode berkendara.


LSD baru ini dirancang untuk bekerja dengan setiap pengaturan drivetrain pada seluruh jajaran mobil Toyota. LSD ini juga akan bekerja pada mobil dengan penggerak RWD, FWD, AWD, atau bahkan offroader.


Teknologi diferensial ini tampaknya diciptakan untuk pengemudi yang ingin sesuatu yang lebih. LSD ini mungkin akan dipasang pada mobil sport bertenaga V8 baru Lexus atau bahkan truk sport Tacoma X-Runner yang akan datang.




0 Komentar


Tambah Komentar