https://mobilku.s3.ap-southeast-3.amazonaws.com/assets/logoHeader.png
https://mobilku.s3.ap-southeast-3.amazonaws.com/assets/human-logo.png
https://mobilku.s3.ap-southeast-3.amazonaws.com/news/1000/ea3173bc-2a89-43f7-b899-b94fd0960030.jpeg
https://mobilku.s3.ap-southeast-3.amazonaws.com/news/1000/f5c5344a-1503-4af8-8927-6bfe23c4395b.jpeg
https://mobilku.s3.ap-southeast-3.amazonaws.com/news/1000/d18c414d-0025-45b6-91cd-b07a5db2e319.jpeg
https://mobilku.s3.ap-southeast-3.amazonaws.com/news/1000/c9c94f14-7fa5-4eb2-afb7-2834377ab424.jpeg
https://mobilku.s3.ap-southeast-3.amazonaws.com/news/1000/d6323dff-5e15-48d0-91d8-4a15093c7bcd.jpeg
https://mobilku.s3.ap-southeast-3.amazonaws.com/news/1000/ea3173bc-2a89-43f7-b899-b94fd0960030.jpeg
https://mobilku.s3.ap-southeast-3.amazonaws.com/news/1000/f5c5344a-1503-4af8-8927-6bfe23c4395b.jpeg

Toyota Daftarkan Paten Airbag Canggih Yang Dapat Menangkap Hampir Seluruh Bagian Tubuh

04 April 2023

dilihat 286x

Mobilku.com - Pengembangan desain airbag baru terus berlanjut ke tingkat yang lebih canggih. Dan belum lama ini, Toyota kedapatan mendaftarkan sebuah patent airbag baru yang tidak hanya akan melindungi kepala penumpang dari cedera tetapi juga akan melindungi wajah mereka dan menopang leher serta bahu ketika terjadi tabrakan.


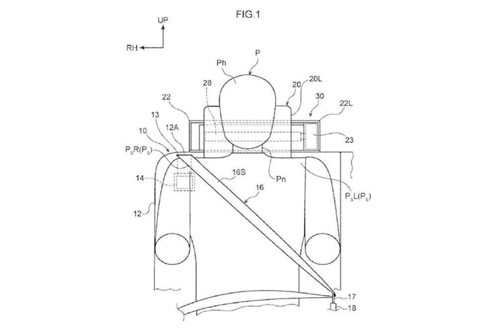
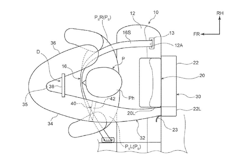
Dalam sketsa paten yang didaftarkan, bentuk airbag baru ini terlihat lebih mirip seperti pelindung kepala yang digunakan saat olahraga gulat daripada airbag biasanya. Meskipun desainnya cukup unik, airbag ini berfungsi dengan baik untuk melindungi dari cedera kepala dan dada.


Tidak seperti kebanyakan desain kantung udara, paten baru ini bahkan menempatkan unit kantung udara di sandaran kepala jok. Pengoperasiannya juga tidak biasa, dengan penyebaran secara bertahap untuk memastikan airbag terbentuk di sekitar penumpang diwaktu yang tepat tanpa menghasilkan hentakan.


Sensor pre-collision juga akan membantu airbag berfungsi sepersekian detik sebelum tabrakan terjadi. Ini akan membantu airbag keluar ke bentuk yang sesuai sebelum adanya hentakan yang dapat mengubah posisi penumpang secara signifikan.


Penyebaran pertama terjadi dalam arah kanan dan kiri hingga melewati kepala penumpang, dan di sisi yang sama untuk melindungi bagian dada. Tahap kedua kantung udara akan menjangkau ke belakang, tepatnya ke arah bahu penumpang untuk mencegah terjadinya dislokasi.


Pada saat yang sama, tahap penyebaran ketiga menyisipkan bantalan lain di antara titik tekuk dan atap kendaraan, memberikan perlindungan lebih lanjut ke arah atas. Bagian penyebaran utama juga berisi bantalan bahu untuk menahan bagian sisi penumpang.


Menurut pengajuan paten, airbag baru ini dirancang agar seluruh airbag yang ada di kendaraan dapat bekerja secara bersamaan dengan waktu yang tepat. Para peneliti di Toyota percaya bahwa paten ini akan memiliki fungsi keselamatan yang lebih baik.


Sayangnya belum ada keputusan pasti terkait kapan airbag canggih ini akan digunakan. Namun, menurut kabar yang beredar, airbag ini akan debut di mobil-mobil kelas seperti jajaran Lexus terbaru di masa mendatang.




0 Komentar


Tambah Komentar