https://mobilku.s3.ap-southeast-3.amazonaws.com/assets/logoHeader.png
https://mobilku.s3.ap-southeast-3.amazonaws.com/assets/human-logo.png
https://mobilku.s3.ap-southeast-3.amazonaws.com/news/1000/ea7a65c5-ee4b-4423-a33a-08eb1805fecc.jpeg
https://mobilku.s3.ap-southeast-3.amazonaws.com/news/1000/dcdf4b3a-c4e5-46ca-8708-c4843903058b.jpeg
https://mobilku.s3.ap-southeast-3.amazonaws.com/news/1000/39c82f2c-d6a5-4a1f-8244-6c015eaacb6d.jpeg
https://mobilku.s3.ap-southeast-3.amazonaws.com/news/1000/7494943f-0e33-4eed-9beb-0d244c531fb2.jpeg
https://mobilku.s3.ap-southeast-3.amazonaws.com/news/1000/c9d7b260-872f-4c6c-b4b8-3b5eac03c248.jpeg
https://mobilku.s3.ap-southeast-3.amazonaws.com/news/1000/ea7a65c5-ee4b-4423-a33a-08eb1805fecc.jpeg
https://mobilku.s3.ap-southeast-3.amazonaws.com/news/1000/dcdf4b3a-c4e5-46ca-8708-c4843903058b.jpeg

Toyota Ajukan Paten Teknologi Cat Mobil Yang Bisa Berubah Warna

25 March 2024

dilihat 449x

Mobilku.com - Toyota belum lama ini kedapatan mengajukan permohonan paten untuk teknologi cat pengubah warna, sebuah teknologi yang memungkinkan pemilik atau dealer dengan cepat mengubah warna mobil.


Dalam paten yang diterbitkan oleh Kantor Paten dan Merek Dagang Amerika Serikat (USPTO) pada 19 Maret, teknologi ini memungkinkan pemilik mengubah warna cat untuk mengikuti tren atau sekadar mengubah selera. Toyota menyarankan agar dealer juga bisa mengganti warna agar mobil lebih mudah dijual.


Namun alih-alih mengecat ulang atau membungkus vinil secara rumit, Toyota mengklaim telah mengembangkan cat yang dapat mengubah warnanya sebagai reaksi terhadap panas dan cahaya. 


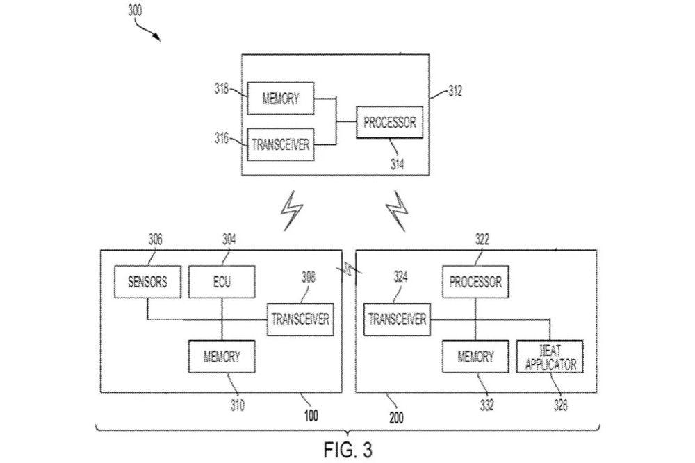
Seperti yang dijelaskan dalam paten, mobil akan masuk ke ruang garasi sorotan pemanas yang mengelilinginya di semua sisi. Saat permukaan cat dipanaskan, perangkat "modulator warna" yang memancarkan cahaya yang diinginkan.


Modulator warna yang dapat dikendalikan oleh operator manusia atau robot ini pada dasarnya akan berfungsi sebagai pengontrol proses perubahan cat. Modulator itu mampu berkomunikasi dengan server jarak jauh serta sensor suhu yang tertanam di bodi kendaraan untuk menentukan pengaturan yang benar dan menampilkan warna pilihan.


Toyota mengaku bukanlah produsen mobil pertama yang bereksperimen dengan cat yang bisa berubah warna. Sebelumnya ada BMW yang mendemonstrasikan teknologi serupa di CES 2022 pada SUV listrik iX-nya.


Berdasarkan teknologi elektroforesis yang digunakan pada e-reader, efek perubahan warna yang digunakan BMW diciptakan oleh jutaan mikrokapsul yang tertanam dalam eksterior. 


Arus listrik menyebabkan pigmen bersirkulasi di dalam mikrokapsul ini, mengubah bagian luar dari putih menjadi abu-abu menjadi hitam hanya dengan menekan sebuah tombol. Versi Toyota tampaknya sedikit berbeda karena tidak menggunakan balutan eksterior sebagai medianya. 


Apakah hal ini membuatnya lebih mungkin untuk mencapai produksi dibandingkan desain BMW yang hanya untuk tujuan demonstrasi? Kita lihat saja bagaimana di masa mendatang.




0 Komentar


Tambah Komentar