https://mobilku.s3.ap-southeast-3.amazonaws.com/assets/logoHeader.png
https://mobilku.s3.ap-southeast-3.amazonaws.com/assets/human-logo.png
https://mobilku.s3.ap-southeast-3.amazonaws.com/news/1000/c4daf7e5-fdb4-43df-ad9e-ffd373f0f203.jpeg
https://mobilku.s3.ap-southeast-3.amazonaws.com/news/1000/59c7224c-66e2-4d3b-96ef-d4428ced3b83.jpeg
https://mobilku.s3.ap-southeast-3.amazonaws.com/news/1000/16058b0c-1a4d-4497-b676-e4c9a4186e7d.jpeg
https://mobilku.s3.ap-southeast-3.amazonaws.com/news/1000/b69f5df4-aa6c-4b69-82c7-9802d899f33a.jpeg
https://mobilku.s3.ap-southeast-3.amazonaws.com/news/1000/df4d2cb7-d86b-43f8-8811-e79cf7ef8dff.jpeg
https://mobilku.s3.ap-southeast-3.amazonaws.com/news/1000/c4daf7e5-fdb4-43df-ad9e-ffd373f0f203.jpeg
https://mobilku.s3.ap-southeast-3.amazonaws.com/news/1000/59c7224c-66e2-4d3b-96ef-d4428ced3b83.jpeg

Paten BMW Terbaru Ini Izinkan Pengguna Gonta-Ganti Atap Mobil Secara Otomatis,

09 September 2022

dilihat 440x

Mobilku.com - Ketika kalian membeli mobil mewah, biasanya terdapat berbagai opsi varian yang menawarkan dengan atau tanpa sunroof. Lalu, bagaimana caranya jika kalian sewaktu-waktu ingin menggantinya?


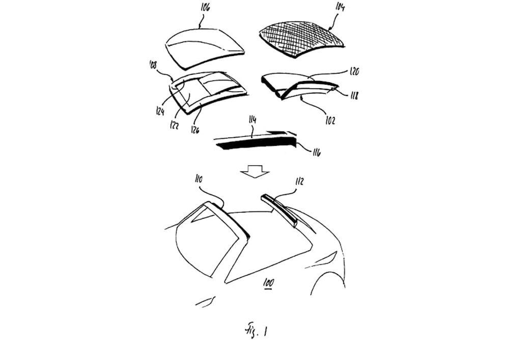
Belum lama ini sebuah patent telah didaftarkan oleh BMW yang memperlihatkan jika kalian bisa mengganti atap apapun mulai dari metal, carbon fiber, hingga sunroof dalam satu paket.


Setiap atap yang dipilih memiliki penguat struktural pada titik yang berbeda tergantung pada penggunaannya. Jika biasanya tipe sunroof membutuhkan dudukan khusus untuk kabel dan menahan bobot kaca, paten ini akan menyesuaikan kebutuhan tersebut secara otomatis


Paten ini mengacu pada desain satu atap modular tunggal dengan satu jenis rangka tulang yang dapat mendukung semua jenis atap. Tidak seperti rangka tradisional, rangka ini akan menggabungkan bagian tengah kendaraan yang akan bertindak sebagai bagian struktural pendukung antara penyangga kaca depan dan belakang.


Pada dasarnya, paten tersebut menggambarkan satu desain dasar untuk struktur atap tanpa penyangga di atas jendela samping. Terlepas dari jenis panel atap apa yang kalian gunakan, penyangga atap dapat memanjang tanpa harus melebihi panjang mobil.


BMW mencatat bahwa ini akan menjadi desain yang ideal untuk kendaraan dengan setidaknya dua baris kursi, jadi tidak dimaksudkan untuk coupe dan convertible. Untuk kendaraan seperti X7, misalnya, desain modular akan mendukung fitur apa pun yang akan dipasang di atap.



0 Komentar


Tambah Komentar