https://mobilku.s3.ap-southeast-3.amazonaws.com/assets/logoHeader.png
https://mobilku.s3.ap-southeast-3.amazonaws.com/assets/human-logo.png
https://mobilku.s3.ap-southeast-3.amazonaws.com/news/1000/af810f19-d791-42dd-bc75-c5396a9a5f5d.jpg
https://mobilku.s3.ap-southeast-3.amazonaws.com/news/1000/8c348e61-c878-4c85-9d1b-9c994f2aa392.jpg
https://mobilku.s3.ap-southeast-3.amazonaws.com/news/1000/2c2fb904-8c7d-4c9c-99df-764c6909cefc.jpg
https://mobilku.s3.ap-southeast-3.amazonaws.com/news/1000/10cdbfa6-ce1a-44fb-9700-05d0f34a7816.jpg
https://mobilku.s3.ap-southeast-3.amazonaws.com/news/1000/5ae7a4b1-c699-4b82-9835-314272f0413d.jpg
https://mobilku.s3.ap-southeast-3.amazonaws.com/news/1000/9e72b9a1-4716-48d0-9766-46ac31882d26.jpg
https://mobilku.s3.ap-southeast-3.amazonaws.com/news/1000/af810f19-d791-42dd-bc75-c5396a9a5f5d.jpg
https://mobilku.s3.ap-southeast-3.amazonaws.com/news/1000/8c348e61-c878-4c85-9d1b-9c994f2aa392.jpg

Mercedes Kembangkan Teknologi Pengempes Ban Untuk Situasi Darurat

23 November 2021

dilihat 276x

Mobilku.com - Mercedes-Benz dikabarkan telah mendaftarkan sebuah paten yang memungkinkan mobil dapat mengempiskan ban ketika situasi tidak terkendali.


Deskripsi paten menyebutkan bahwa sistem pengereman lebih diprioritaskan untuk kendaraan listrik atau hybrid. Karena di kebanyakan mobil listrik, biasanya sudah menggunakan metode pengereman regeneratif, yang pada dasarnya seperti memiliki dua sistem pengereman. 


Jika biasanya pengemudi cukup menekan pedal rem dan mobil langsung melambat, EV yang menggunakan teknologi regenerative braking system harus mengirimkan data untuk menghitung apakah energi yang sudah terpakai bisa dikembalikan ke baterai atau tidak.


Namun jika sistem tersebut malfungsi, hasilnya bisa menjadi bencana besar. Sistem tersebut akan terus menerus menghitung energi hingga akhirnya membuat baterai terlalu panas dan mobil akan kehilangan fungsinya.


Ketika mobil sudah kehilangan fungsinya, teknologi mengempiskan ban secara otomatis akan membuat laju mobil menjadi semakin lambat. Hal tersebut lantaran tekanan ban sudah tidak lagi mampu mengimbangi bobot serta kecepatan mobil. 


Setelah teknologi tersebut memastikan tekanan ban berkurang, sistem secara otomatis juga akan membatasi kecepatan berkendara, dan memberikan sinyal ke mobil sekitar jika kondisi sedang darurat.


Jika kendaraan sudah dipastikan aman, Mercedes mengatakan bahwa teknologi tersebut memungkinkan ban kembali ke kondisi semula, jadi anda tidak perlu mengganti ban dengan yang baru. Namun, hingga saat ini pabrikan belum menjelaskan detail bagaimana ban yang sudah kempis bisa kembali normal. 


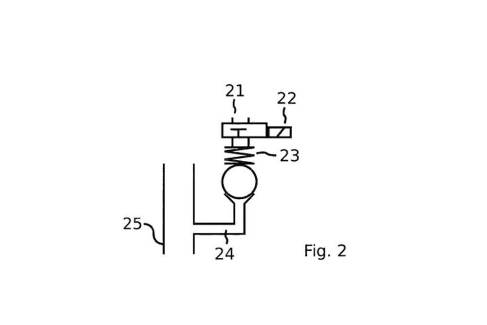
Pihak Mercedes mengatakan bahwa teknologi paten tersebut terdiri dari unit kontrol pusat dan unit pengurangan tekanan udara yang terhubung ke dalam ban. Nantinya, kedua sistem tersebut akan aktif ketika seluruh rem gagal berfungsi atau terjadi kerusakan.


Ini bukan pertama kalinya Mercedes menggunakan sistem seperti ini. Sebelumnya, ada Mercedes-AMG G63 6x6 yang memiliki kompresor onboard untuk mengempis dan mengisi tekanan ban secara otomatis. Namun mengingat G63 merupakan mobil offroad kelas berat, rasanya teknologi tersebut sangat diperlukan agar ban bisa melintas jalur-jalur sulit.

0 Komentar


Tambah Komentar