https://mobilku.s3.ap-southeast-3.amazonaws.com/assets/logoHeader.png
https://mobilku.s3.ap-southeast-3.amazonaws.com/assets/human-logo.png
https://mobilku.s3.ap-southeast-3.amazonaws.com/news/1000/e39a6270-4d09-47c7-853b-1e486c2eef94.jpg
https://mobilku.s3.ap-southeast-3.amazonaws.com/news/1000/51d586fa-bfb0-4819-8990-ebfdbe99efb0.jpg
https://mobilku.s3.ap-southeast-3.amazonaws.com/news/1000/79fef804-343e-4c1b-a4c6-a769a4a7817b.jpg
https://mobilku.s3.ap-southeast-3.amazonaws.com/news/1000/d1638249-8692-4b90-99b6-ae466f413abe.jpg
https://mobilku.s3.ap-southeast-3.amazonaws.com/news/1000/06a36205-3535-4771-84d1-0db018190de1.jpg
https://mobilku.s3.ap-southeast-3.amazonaws.com/news/1000/13bbe952-9470-4b69-801e-6807c4faac3c.jpg
https://mobilku.s3.ap-southeast-3.amazonaws.com/news/1000/e39a6270-4d09-47c7-853b-1e486c2eef94.jpg
https://mobilku.s3.ap-southeast-3.amazonaws.com/news/1000/51d586fa-bfb0-4819-8990-ebfdbe99efb0.jpg

Mercedes-Benz Patenkan Fitur AC di Steering Wheel

03 February 2022

dilihat 291x

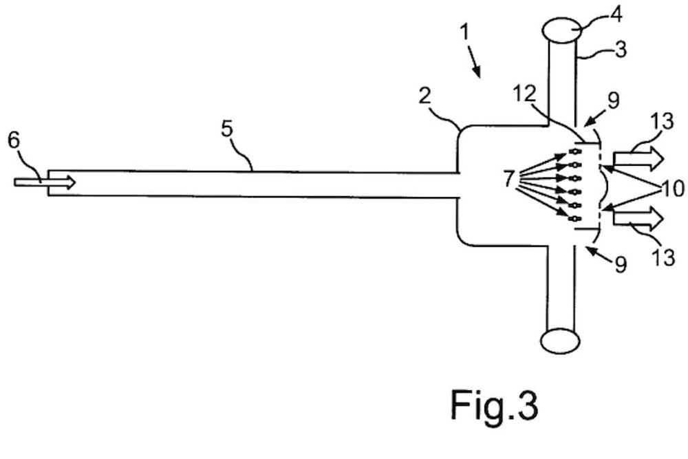
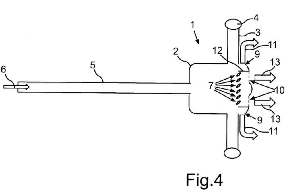
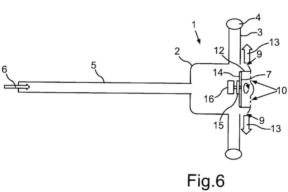
Mobilku.com - Belakangan ini dunia otomotif dipenuhi oleh berbagai paten baru yang didaftarkan oleh pabrikan mobil. Setelah belum lama ini BMW memperkenalkan steering wheel yang bisa dilipat, kali ini giliran Mercedes-Benz yang mematenkan desain steering wheel yang dilengkapi dengan lubang ventilasi AC.


Pengajuan paten dari Mercedes-Benz tersebut menunjukkan jika steering wheel mereka dapat meniupkan udara melalui bagian tengah dekat logo bintang. Pada dasarnya, paten steering wheel Mercedes ini ingin membuat area pengemudi lebih sejuk karena mendapat angin langsung dari steering wheel.


Cara paling sederhana untuk menggambarkan paten ini adalah dengan membayangkan jenis aliran udara yang biasa keluar kursi berventilasi, hanya saja sekarang datang dari steering wheel. Bukan hanya udara yang menyejukan, paten ini juga dapat mengeluarkan udara hangat yang siap membuat pengemudi nyaman ketika hendak mengendarai mobil di musim salju.


Kemungkinan besar paten steering wheel dari Mercedes-Benz ini bisa dikontrol melalui panel sistem kontrol iklim, sehingga pengemudi dapat memilih tingkatan aliran udara dan suhu yang hendak dikeluarkan. Kemungkinan lainnya, fitur ini hanya bersifat sementara dan berfungsi ketika pengemudi sudah memegang steering wheel.


Fitur ini tentu akan menjadi fitur yang sangat menyenangkan bagi supir para pejabat yang tiap hari mengemudikan S-Class atasannya. Selain itu pengemudi yang berasal dari daerah dengan suhu yang cukup panas, tentu akan menyukai fitur ini. Jujur, tangan yang berkeringat sangat tidak nyaman untuk mengemudi. Semoga saja patent steering wheel ber-AC ini bisa dibawa ke pasaran.

0 Komentar


Tambah Komentar