https://mobilku.s3.ap-southeast-3.amazonaws.com/assets/logoHeader.png
https://mobilku.s3.ap-southeast-3.amazonaws.com/assets/human-logo.png
https://mobilku.s3.ap-southeast-3.amazonaws.com/news/1000/d1cd2232-67e0-4095-aad0-f533cb76708d.jpg
https://mobilku.s3.ap-southeast-3.amazonaws.com/news/1000/60512020-c713-484e-8d35-c1a11ba6c181.jpg
https://mobilku.s3.ap-southeast-3.amazonaws.com/news/1000/47e62292-7bb6-4774-8364-49fa4cf52c96.JPG
https://mobilku.s3.ap-southeast-3.amazonaws.com/news/1000/6b0298a1-223b-4e1b-b5b1-9205788d18a1.JPG
https://mobilku.s3.ap-southeast-3.amazonaws.com/news/1000/d1cd2232-67e0-4095-aad0-f533cb76708d.jpg
https://mobilku.s3.ap-southeast-3.amazonaws.com/news/1000/60512020-c713-484e-8d35-c1a11ba6c181.jpg

Mazda Daftarkan Paten Mesin Dua-Tak, Untuk Apa Ya?

15 February 2022

dilihat 248x

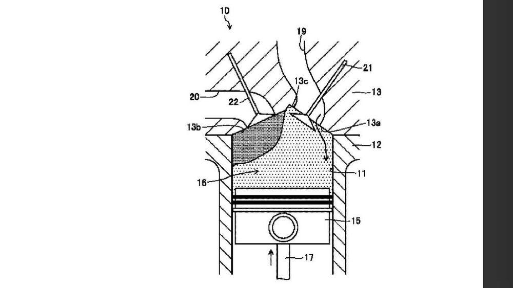
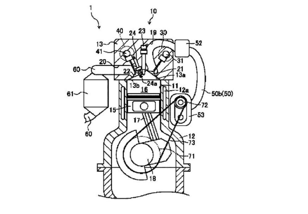
Mobilku.com - Mesin dua-tak atau two-stroke engine adalah teknologi sudah cukup tua di industri otomotif, tetapi Mazda sepertinya melihat ada potensi baru yang bisa digali dari mesin tersebut.


Belum lama ini Mazda diketahui kedapatan telah mendaftarkan paten untuk sebuah mesin dua-tak supercharged. Dilihat dari desainnya, mesin ini sepertinya mengambil teknologi dari Skyactiv-X milik Mazda dan menjanjikan peningkatan penghematan bahan bakar yang lebih baik, setidaknya itu yang dikatakan paten tersebut.


Selain itu, paten mesin dua-tak ini juga terlihat dilengkapi supercharger yang digerakkan dari poros engkol guna membantu proses pembersihan—proses di mana campuran udara/bahan bakar masuk ke mesin—yang akhirnya memberikan performa terbaik pada mesin.


Untuk saat masih belum jelas untuk apa dan bagaimana mesin ini dapat digunakan. Desain mesin dua-tak ini juga telah membuat banyak orang berpikir tentang sebuah sepeda motor, meskipun rasanya tidak mungkin Mazda mengeluarkan sepeda motor.


Jika paten ini terbukti benar, kemungkinan besar Mazda hanya ingin mendaftarkan kekayaan intelektual yang dihasilkan oleh para peneliti nya, dan bukan sesuatu yang harus dijadwalkan untuk diproduksi atau dipasarkan.


Jika boleh menghayal, mesin dua-tak ini mungkin juga mengarah pada mesin dengan kemampuan multi-bahan bakar, sehingga mesin dapat bekerja dengan bensin ataupun hidrogen. Sebagaimana kita bahas sebelumnya, Mazda juga punya paten mesin hidrogen.


Terlepas dari itu semua, Ini adalah upaya lain dari Mazda yang sangat gigih ingin menjaga model mesin pembakaran tetap hidup di lingkungan yang semakin ketat, terutama dari kedatangan era mobil listrik.

0 Komentar


Tambah Komentar