https://mobilku.s3.ap-southeast-3.amazonaws.com/assets/logoHeader.png
https://mobilku.s3.ap-southeast-3.amazonaws.com/assets/human-logo.png
https://mobilku.s3.ap-southeast-3.amazonaws.com/news/1000/72ab91eb-5214-4ac4-8aaf-e7816088226c.jpg
https://mobilku.s3.ap-southeast-3.amazonaws.com/news/1000/5961e1a0-80af-421e-84e1-19716e344c81.jpg
https://mobilku.s3.ap-southeast-3.amazonaws.com/news/1000/eeed7511-c33c-4eeb-8fb0-ce86774a04a5.jpg
https://mobilku.s3.ap-southeast-3.amazonaws.com/news/1000/fab8d4ff-76db-4c06-bda6-599fd28fde3b.jpg
https://mobilku.s3.ap-southeast-3.amazonaws.com/news/1000/dfe2930f-6533-4dee-a967-443fb02d6258.jpg
https://mobilku.s3.ap-southeast-3.amazonaws.com/news/1000/0d1175ed-b540-42dd-8f8e-e69878413d04.jpg
https://mobilku.s3.ap-southeast-3.amazonaws.com/news/1000/72ab91eb-5214-4ac4-8aaf-e7816088226c.jpg
https://mobilku.s3.ap-southeast-3.amazonaws.com/news/1000/5961e1a0-80af-421e-84e1-19716e344c81.jpg

Mazda Daftarkan Paten Kabin Digital Untuk Gantikan Tombol Fisik

03 November 2021

dilihat 230x

Mobilku.com - SEMA Auto Show adalah ajang pameran otomotif tahunan di Las Vegas, dimana banyak pabrikan mobil dan perusahaan aftermarket menampilkan produk-produk inovatif yang mereka miliki.


Pada SEMA Auto Show Ford diketahui membawa 40 mobil konsep, sedangkan Honda membawa armada yang mengesankan. Mengingat cukup banyak pabrikan Jepang tampil disana, Mazda malah absen dan sepertinya sedang sibuk mengembangkan sesuatu yang unik.


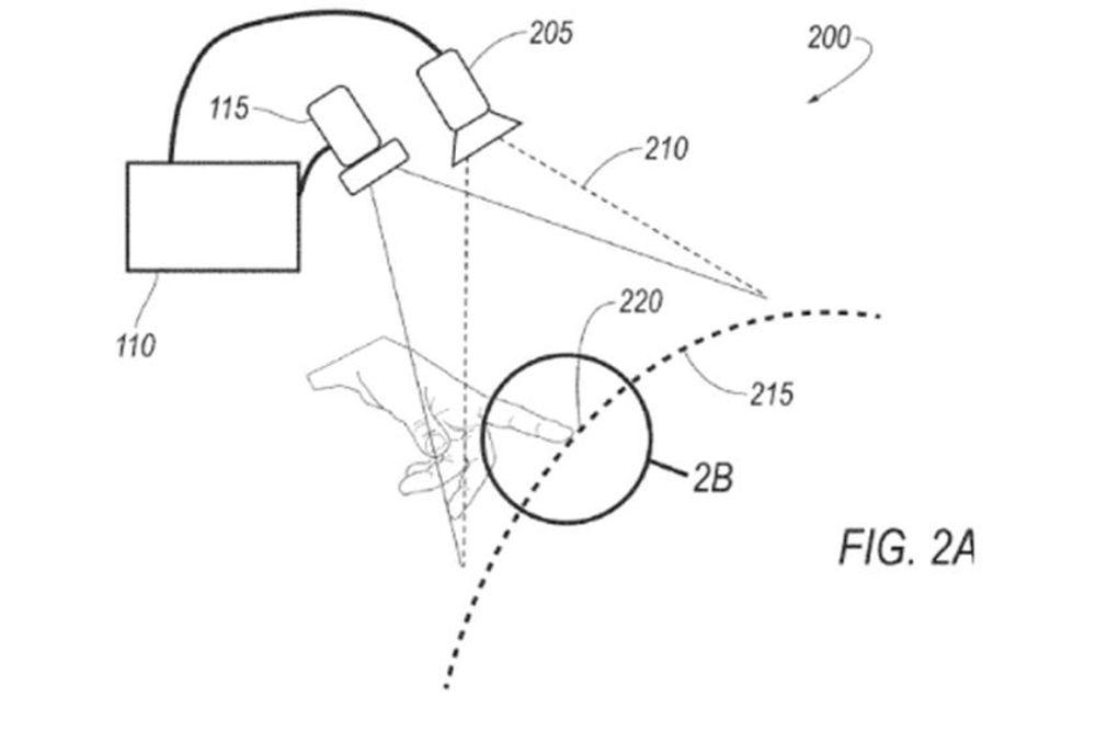
Menurut pengajuan paten di US Patent and Trademark Office, Mazda dikabarkan telah mendaftarkan sebuah penemuan baru yang akan menggantikan kontrol fisik pada kabin dengan sebuah tombol virtual.


Jika mengacu pada paten yang didaftarkan, nantinya beberapa mobil Mazda takan dilengkapi dengan CPU yang dapat memproyeksikan sebuah ikon menjadi tombol yang dapat ditekan. Ketika ikon tersebut ditekan, CPU akan memproses fungsi ikon tersebut dan mengaktifkan komponen yang sudah terintegrasi.


Penjelasan mudahnya, Mazda membayangkan bahwa akan ada sebuah proyektor yang dapat menampilkan gambar holografik di permukaan kabin. Saat pengguna meletakkan jari mereka pada "tombol" virtual, proyektor tersebut akan membaca pergerakan jari menggunakan semacam sensor untuk mendeteksi perintah apa yang dilakukan.


Pada gambar paten yang dibagikan, kalian juga dapat melihat jika sensor yang disebutkan di atas akan dapat mendeteksi arah dimana input ditekan. Dokumen paten tersebut bahkan mengklaim jika teknologi ini dapat mendeteksi kekuatan sentuhan dan gerakan jari setiap penggunanya,


Dengan cara ini, sudah jelas kita dapat merubah sesuatu dengan sangat cepat. Sebagai contoh, jika sistem infotainment disetel ke volume yang rendah, menekan "tombol" sambil menggesernya ke atas memungkinkan sistem mengenali bahwa pengguna ingin meningkatkan volume.


Meskipun teknologi ini masih berupa sebuah dokumen, hal tersebut adalah sesuatu yang luar biasa dan sangat cerdas. Teknologi ini bahkan dapat menghemat biaya produksi karena tombol-tombol fisik tidak lagi harus digunakan.


Belum lagi jika berbicara tentang desain interior, bayangkan saja jika kita mengendarai Mazda Miata terbaru dengan desain yang seamless dan teknologi pintar di dalamnya. Pastinya, nyaman banget bukan? 

0 Komentar


Tambah Komentar