https://mobilku.s3.ap-southeast-3.amazonaws.com/assets/logoHeader.png
https://mobilku.s3.ap-southeast-3.amazonaws.com/assets/human-logo.png
https://mobilku.s3.ap-southeast-3.amazonaws.com/news/1000/1eda17bb-2154-4257-b55e-a86aec9586ce.jpeg
https://mobilku.s3.ap-southeast-3.amazonaws.com/news/1000/9a6a356d-9a30-4d96-a7dd-beeb2a3461f6.jpeg
https://mobilku.s3.ap-southeast-3.amazonaws.com/news/1000/b7ca8116-5af4-43cf-8334-64b52ce0e2e3.jpeg
https://mobilku.s3.ap-southeast-3.amazonaws.com/news/1000/641075d4-cb33-42ef-b9b9-39cea6a1c2f9.png
https://mobilku.s3.ap-southeast-3.amazonaws.com/news/1000/16af1f24-d80c-4508-a7f6-170d4fc3cf8b.jpeg
https://mobilku.s3.ap-southeast-3.amazonaws.com/news/1000/9f0bd546-e43a-4569-b0d7-49a3d5bdc1b3.jpeg
https://mobilku.s3.ap-southeast-3.amazonaws.com/news/1000/1eda17bb-2154-4257-b55e-a86aec9586ce.jpeg
https://mobilku.s3.ap-southeast-3.amazonaws.com/news/1000/9a6a356d-9a30-4d96-a7dd-beeb2a3461f6.jpeg

Ini Cara Porsche Menjaga Mesin Pembakaran Tetap Hidup Di Era EV

09 December 2023

dilihat 329x

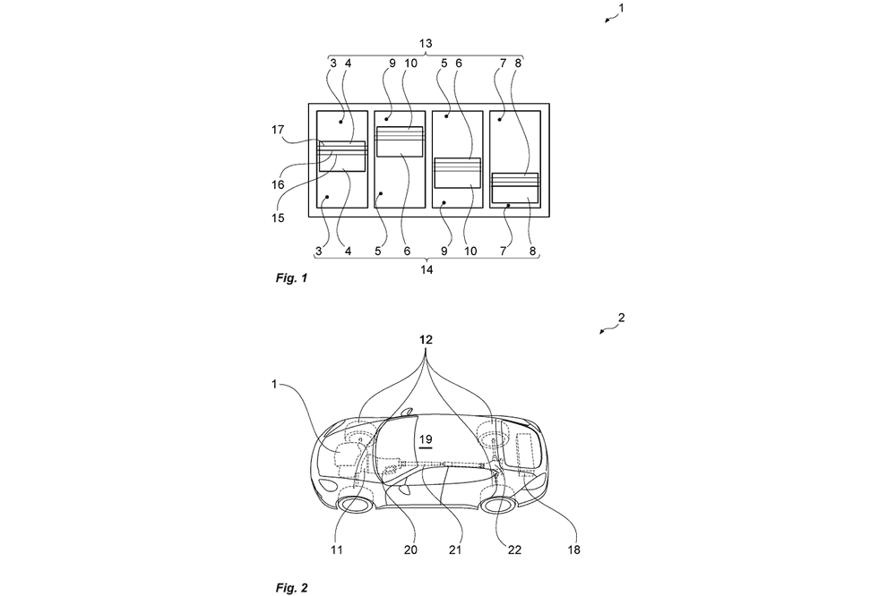
Mobilku.com - Sebuah paten baru dari Porsche belum lama ini telah diajukan ke Kantor Paten dan Merek Dagang Jerman, yang menunjukkan potensi-potensi baru dengan memanfaatkan gas buang sebagai energi tambahan.


Seperti yang kita ketahui, banyak mobil harus dipanaskan terlebih dahulu agar pembakarannya dapat bekerja secara optimal. Namun, Porsche berpikir bahwa cara ini sangatlah tidak efektif untuk jajaran mobil hybrid.


Porsche mengatakan bahwa jika kalian mengendarai mobil hybrid dan kehabisan muatan listrik, Kalian tidak mungkin menunggu sampai mesin memanas sendiri, dan tentu tidak bisa menunggu proses pengapian yang lama selesai.


Solusi yang ada saat ini adalah pemasangan motor starter elektrik, namun stater elektrik ini selalu menyimpan sejumlah energi saat mesin perlu dihidupkan kembali, yang berarti mobil akan selalu membawa beban yang tidak perlu yang tidak ada hubungannya dengan powertrain. 


Demikian pula, starter yang digerakkan oleh sabuk menguras tenaga mesin dengan cara yang sama seperti supercharger, meskipun pada tingkat yang jauh lebih rendah. Pilihan mana pun pada ujungnya hanya akan menambah bobot dan mengurangi total daya yang tersedia.


Porsche berpikir bagaimana jika kita bisa mengontrol karakteristik tekanan gas buang pada mesin pembakaran dan mengatur kompresi setiap silindernya. Gas-gas ini mengandung energi potensial yang biasanya terbuang, dan ketika gas-gas ini keluar, kompresinya juga berkurang. 


Sebagian besar gas-gas ini digunakan kembali melalui proses resirkulasi gas buang, dibakar di gas buang, atau ditangkap filter. Perbedaan dalam kompresi yang disebabkan oleh gas-gas ini adalah kuncinya, dan untuk memanfaatkan hal ini, Porsche menyarankan untuk mengubah desain setiap silinder untuk mengurangi urutan pengapian.


Hal ini memerlukan metodologi tersendiri yang rumit, karena poros engkol berputar ribuan kali dalam satu menit dan kemudian berhenti saat mesin dimatikan. Ketika perlu dihidupkan kembali, silinder yang tadinya menyala mungkin menjadi silinder terakhir, dan desain silinder yang diubah belum tentu selaras secara optimal.


Ide yang lebih menarik adalah banyaknya segel yang peka terhadap suhu pada setiap piston yang dapat mengembang setelah sejumlah pengapian dilakukan di dalam silinder. Dengan ini, peningkatan laju hembusan dapat dicapai, yang meminimalkan gerakan piston.


Tentu saja, Porsche tidak naif dan menyadari bahwa start langsung dengan cara ini tidak selalu dapat dilakukan, terutama pada cuaca yang sangat dingin. Namun dengan cara ini, motor starter dapat dibuat jauh lebih kecil, lebih ringan, lebih murah, dan sederhana dengan kualitas yang relatif sama.


Selain itu, menghidupkan mesin akan lebih mudah, yang berarti lebih sedikit kerusakan pada dinding silinder dan ring piston meskipun oli berupa lumpur kental pada saat-saat awal penyalaan.


Teknologi ini akan sangat membantu Porsche 911 menjadi sangat efisien sekaligus menghemat bobot kendaraan sambil membantu menjaga mesin pembakaran tetap memiliki fungsi lain.




0 Komentar


Tambah Komentar