https://mobilku.s3.ap-southeast-3.amazonaws.com/assets/logoHeader.png
https://mobilku.s3.ap-southeast-3.amazonaws.com/assets/human-logo.png
https://mobilku.s3.ap-southeast-3.amazonaws.com/news/1000/eda2bfc1-a533-4c91-9484-670bc0d48883.jpg
https://mobilku.s3.ap-southeast-3.amazonaws.com/news/1000/cf270ba0-ffe6-4ac4-96da-eb97b9576500.jpg
https://mobilku.s3.ap-southeast-3.amazonaws.com/news/1000/30e776df-94af-426c-8142-578ee6a9406b.jpg
https://mobilku.s3.ap-southeast-3.amazonaws.com/news/1000/f9b9e63f-5db4-45b5-a2c7-af30ca1d6829.jpg
https://mobilku.s3.ap-southeast-3.amazonaws.com/news/1000/ab304b4d-0479-4017-a848-45af73f6a4eb.jpg
https://mobilku.s3.ap-southeast-3.amazonaws.com/news/1000/eda2bfc1-a533-4c91-9484-670bc0d48883.jpg
https://mobilku.s3.ap-southeast-3.amazonaws.com/news/1000/cf270ba0-ffe6-4ac4-96da-eb97b9576500.jpg

Hyundai Tengah Kembangkan Desain Setir Futuristik

01 October 2021

dilihat 215x

Mobilku.com - Hyundai Motor belum lama ini dikabarkan telah mendaftarkan sebuah paten baru untuk steering wheel canggih yang tampaknya terinspirasi dari mobil F1. Jika biasanya Hyundai kurang peduli dengan hal kecil seperti ini, tampaknya pabrikan KorSel tersebut ingin mencoba sesuatu yang baru.


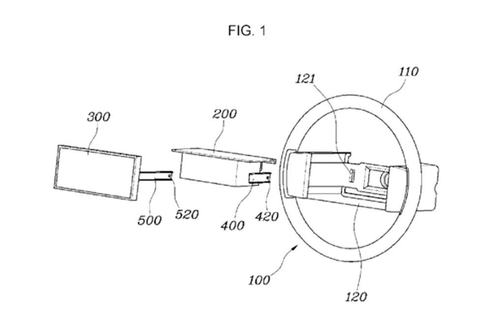
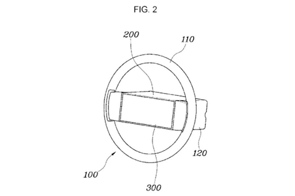
Dari gambar paten yang tersebar di internet, desain steering wheel Hyundai terlihat memiliki tampilan layar yang ditempatkan di tengah kemudi. Dengan desain seperti itu, kami berpikir jika Hyundai sepertinya ingin menyelesaikan masalah dalam melihat instrument cluster. Biasanya, ada beberapa pengemudi yang kesulitan melihat instrument cluster karena terhalang steering wheel yang terlalu besar.


Selanjutnya paten tersebut juga menjelaskan bahwa airbag pengemudi dapat mengembang tanpa merusak tampilan itu sendiri. Hal tersebut lantaran perangkat layar dan perangkat airbag dipisahkan dengan yang dudukan terpisah.


Hyundai sebelumnya juga pernah bereksperimen dengan kontrol layar sentuh untuk roda kemudi, tetapi paten tersebut hanya bertugas untuk mengubah stasiun radio atau menyalakan wiper.


Namun untuk paten yang satu ini kami pikir terlalu kompleks untuk sebuah masalah sepele. Selain itu, kami juga bertanya-tanya apakah tampilan kemudi ini mengharuskan pengemudi mengalihkan pandangan terlalu lama atau tidak.


Kehadiran konsep steering wheel sepertinya juga pernah diikuti oleh Genesis melalui Mint Concept yang juga memiliki tampilan besar di bagian setirnya. Apakah paten seperti ini akan benar-benar diproduksi? Entahlah, pengajuan paten tidak selalu berarti hal tersebut akan dibawa ke dunia nyata.

0 Komentar


Tambah Komentar