https://mobilku.s3.ap-southeast-3.amazonaws.com/assets/logoHeader.png
https://mobilku.s3.ap-southeast-3.amazonaws.com/assets/human-logo.png
https://mobilku.s3.ap-southeast-3.amazonaws.com/news/1000/a0f8036d-b369-4428-93a1-3a3e1bcd138f.jpeg
https://mobilku.s3.ap-southeast-3.amazonaws.com/news/1000/ac6c7e24-3a36-4046-82db-961f6a844aa1.jpeg
https://mobilku.s3.ap-southeast-3.amazonaws.com/news/1000/40b5c0a8-d811-4ab9-be0e-eeba6d23d971.jpeg
https://mobilku.s3.ap-southeast-3.amazonaws.com/news/1000/8e8e8a25-0fc2-4b50-aa83-893e874f6968.jpeg
https://mobilku.s3.ap-southeast-3.amazonaws.com/news/1000/1bd9496d-ce8a-4d18-995e-79467144ad21.jpeg
https://mobilku.s3.ap-southeast-3.amazonaws.com/news/1000/a0f8036d-b369-4428-93a1-3a3e1bcd138f.jpeg
https://mobilku.s3.ap-southeast-3.amazonaws.com/news/1000/ac6c7e24-3a36-4046-82db-961f6a844aa1.jpeg

Hyundai Daftarkan Paten Wireless Charging Pad Untuk EV

10 March 2023

dilihat 378x

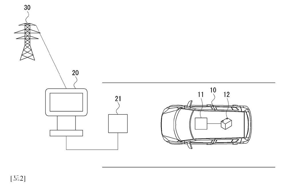
Mobilku.com - Hyundai dikabarkan telah menemukan cara untuk pengisian daya EV nirkabel dengan cepat dan efisien. Informasi tersebut diketahui lantaran Hyundai belum lama ini kedapatan telah mendaftarkan paten teknologi tersebut ke Kantor Kekayaan Intelektual Korea (KIPO).


Pengisian daya nirkabel menggunakan diketahui elektromagnetik sebagai media transfer energinya, menghubungkan antara alas bantalan pengisi daya nirkabel dengan mobil listrik. Secara sederhana, cara kerjanya sama seperti kita mengisi baterai smartphone menggunakan wireless charging pad.


Hyundai yakin teknologi ini layak untuk dikembangkan, meski diakui akan banyak tantangan dan kesulitan di masa mendatang. Untuk mewujudkannya, mereka telah menggunakan beberapa metode yang sangat canggih.


Inovasi pertama adalah menggunakan sebuah kawat pipih untuk lilitan kumparan. Sebagian besar peralatan pengisian daya nirkabel saat ini menggunakan kabel "Litz" berinsulasi yang sangat tipis dan dililit sangat rapat untuk menghemat ruang. Kabel Litz sendiri adalah salah satu komponen terbaik yang ada saat ini, tetapi kabel Litz memiliki harga yang sangat mahal. Pemasangannya untuk mobil juga cukup kompleks.


Untuk menghemat biaya, Hyundai mengganti kabel Litz dengan membuat sebuah kabel baru yang desainnya tidak jauh berbeda. Metode ini memang memiliki lebih banyak belitan dibandingkan kabel Litz, tetapi efisiensi yang dihasilkan tidak jauh berbeda.


Semua inovasi ini dipercaya dapat membantu menekan biaya, meningkatkan efisiensi transfer daya, dan memungkinkan medan magnet yang lebih kuat. Dan, berkat desain baru tersebut, medan magnet dapat diarahkan lebih tepat ke arah kendaraan penerima tanpa menimbulkan lonjakan energi yang berlebih.


Kehadiran teknologi ini juga dipercaya dapat memperbaiki masalah yang ada pada pengisi daya nirkabel yang sudah ada, di mana sedikit ketidaksejajaran atau jarak yang terlalu jauh dapat memutus transfer daya.


Secara teori, teknologi baru Hyundai ini merupakan charging pad yang ditanam di bawah tanah yang dapat dipasang di garasi rumah atau di pusat perbelanjaan. Hal ini tentu akan memudahkan para pemilik EV, dimana mereka hanya perlu parkir ditempat charging pad untuk mengisi daya.



0 Komentar


Tambah Komentar