https://mobilku.s3.ap-southeast-3.amazonaws.com/assets/logoHeader.png
https://mobilku.s3.ap-southeast-3.amazonaws.com/assets/human-logo.png
https://mobilku.s3.ap-southeast-3.amazonaws.com/news/1000/a1841271-6d87-4b54-8712-f2927bb7a6ed.jpeg
https://mobilku.s3.ap-southeast-3.amazonaws.com/news/1000/4ad5762c-9378-44cb-93c5-aef91910ba2e.jpeg
https://mobilku.s3.ap-southeast-3.amazonaws.com/news/1000/9ecdb49d-01f3-4068-a877-e9d0d3a14eef.jpeg
https://mobilku.s3.ap-southeast-3.amazonaws.com/news/1000/0aee07c1-935b-4220-a093-33cfb2347010.jpeg
https://mobilku.s3.ap-southeast-3.amazonaws.com/news/1000/7c51c3ac-eae8-476b-8a37-652c83d2dac8.jpeg
https://mobilku.s3.ap-southeast-3.amazonaws.com/news/1000/a1841271-6d87-4b54-8712-f2927bb7a6ed.jpeg
https://mobilku.s3.ap-southeast-3.amazonaws.com/news/1000/4ad5762c-9378-44cb-93c5-aef91910ba2e.jpeg

Hyundai Daftarkan Paten Steering Wheel Dengan Bentuk Joystick

06 March 2023

dilihat 468x

Mobilku.com - Hyundai seolah tidak pernah berhenti untuk berinovasi. Pasalnya, belum lama ini Kantor Paten dan Merek Dagang Amerika Serikat (USPTO) mendapatkan paten baru Hyundai berupa steering wheel dengan bentuk seperti joystick pesawat di film Sci-Fi.


Steering wheel tradisional dinilai memakan terlalu banyak ruang, atas dasar itulah Hyundai membuat sebuah paten steering wheel dengan bentuk dual-joystick yang ditempatkan di samping kursi pengemudi.


Berbeda dengan kontrol yang ada di pesawat terbang, penemuan Hyundai ini hanya bisa berputar ke satu arah, kiri atau kanan. Mereka juga tidak dipamerkan sebagai poros tunggal, melainkan kontrol seperti pegangan dengan beberapa tombol.


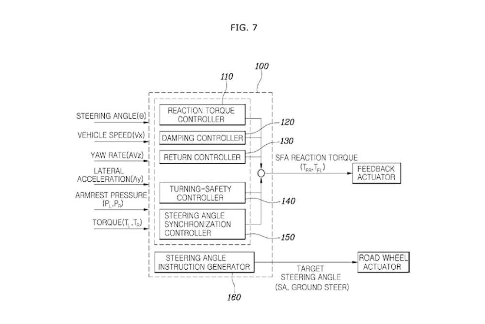
Joystick ini dihubungkan ke aktuator untuk memberikan tekanan balik ke tangan sehingga menimbulkan kesan bergetar seperti sensor haptic. Jika kedua sudut joystick terlalu jauh berbeda, pengontrol akan mempertimbangkan tekanan pada sensor sandaran tangan untuk menentukan posisi joystick mana yang harus diprioritaskan dalam perhitungan sudut kemudi yang diinginkan.


Dalam skenario ini, aktuator force-feedback akan menetralkan gerakan joystick yang salah sebagai cara mengingatkan pengemudi. Sudut kemudi yang sebenarnya dalam sistem drive-by-wire ini ditentukan terlebih dahulu denga cara memeriksa apakah gerakan joystick sudah sesuai dengan kondisi kemudi normal. Setelah itu sistem akan menghitung sudut kemudi yang layak berdasarkan kecepatan dan lingkungan kendaraan berada.


Dengan membandingkan dua input joystick, sistem juga akan menghitung sudut kemudi dan menerapkan gaya yang sesuai untuk mendapatkan posisi yang sama dengan roda. Sistem tersebut juga akan mengkompensasi tubuh pengemudi yang bergerak saat mobil sedang menikung, guna memastikan sensasi mengemudinya sama seperti menggunakan steering wheel. 


Nantinya sistem akan mengukur seberapa berat pengemudi bersandar pada sandaran tangan dan memasukkan info ini ke dalam algoritmanya. Alhasil, mobil dapat memperkirakan seberapa jauh sudut dan putaran joystick harus dioperasikan.


Sayangnya teknologi ini tidak akan ditemukan pada mobil produksi Hyundai dalam waktu dekat, paling tidak karena desainnya yang terlalu aneh bagi orang-orang. Namun, sistem akan bermanfaat sebagai kontrol kendaraan otonom Level 3 atau 4 yang masih memerlukan input manusia untuk memastikan mobil tetap berjalan sempurna.



0 Komentar


Tambah Komentar