https://mobilku.s3.ap-southeast-3.amazonaws.com/assets/logoHeader.png
https://mobilku.s3.ap-southeast-3.amazonaws.com/assets/human-logo.png
https://mobilku.s3.ap-southeast-3.amazonaws.com/news/1000/c5424087-d283-4a94-a01a-087fe9c77fd5.jpg
https://mobilku.s3.ap-southeast-3.amazonaws.com/news/1000/a610e2ed-4bf4-486c-80b0-3776f888ac58.jpg
https://mobilku.s3.ap-southeast-3.amazonaws.com/news/1000/d335f63f-1fcd-4d9e-b084-9c22d44a9ab0.jpg
https://mobilku.s3.ap-southeast-3.amazonaws.com/news/1000/810648d7-1c62-41eb-a96c-a0c597e652ea.jpg
https://mobilku.s3.ap-southeast-3.amazonaws.com/news/1000/2acb35ef-e90a-4d6a-aa92-661dd465c827.jpg
https://mobilku.s3.ap-southeast-3.amazonaws.com/news/1000/c5424087-d283-4a94-a01a-087fe9c77fd5.jpg
https://mobilku.s3.ap-southeast-3.amazonaws.com/news/1000/a610e2ed-4bf4-486c-80b0-3776f888ac58.jpg

Hyundai Daftarkan Paten Baru Untuk Pintu Bagasi Sliding

24 February 2022

dilihat 344x

Mobilku.com - Hampir semua pabrikan mobil selalu mencari cara untuk menawarkan sesuatu yang baru dan lebih canggih untuk konsumennya. Dan untuk kali ini, Hyundai tidak akan memamerkan kecanggihan robotik atau kehebatan motor listriknya, tetapi ada satu paten menarik yang diklaim akan mempermudah pelanggannya dalam menggunakan mobil-mobil mereka.


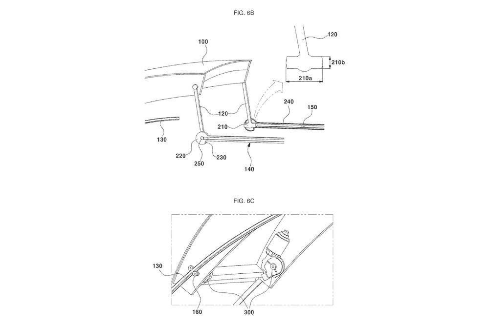
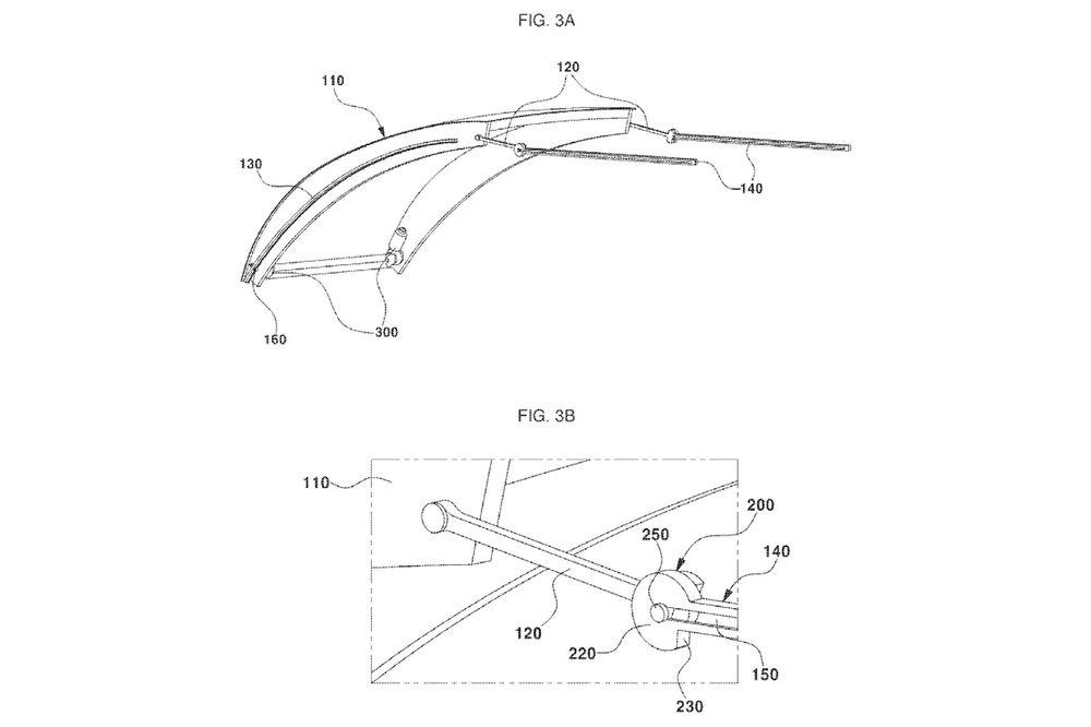
Belum lama ini sebuah dokumen paten yang diajukan ke United States Patent and Trademark Office (USPTO), menunjukan jika Hyundai memiliki teknologi baru berupa pintu bagasi yang dapat bergeser ke atap mobil. Jika biasanya pintu bagasi terbuka miring ke atas, paten ini memperlihatkan bagaimana pintu bagasinya dibuat menggunakan railing yang dapat didorong hingga diletakan hampir sejajar dengan atap mobil.


Pihak Hyundai mengatakan bahwa paten ini akan membantu setiap pelanggan membuka bagasi dengan mudah, walaupun mereka parkir terlalu dekat dengan dinding atau area yang sempit. Pada dasarnya kalian tidak perlu lagi mengatur ulang posisi parkir hanya untuk membuka bagasi, karena pintu bagasinya akan terbuka ke atas.


Hyundai juga membayangkan jika teknologi ini akan sangat cocok jika digunakan pada model RV dan SUV, di mana kepraktisan tersebut akan menjadi nilai tambah bagi produk mereka. Dan menurut kabar yang beredar, paten ini kemungkinan akan dipasangkan ke beberapa model terbaru dari Hyundai Ioniq 5, Tucson, Santa Fe, dan Palisade.


Tentu pada praktiknya akan ada batasan yang perlu diperhatikan, salah satunya adalah membuat mobil menjadi bertambah tinggi. Namun, mengingat banyak crossover listrik terbaru mengadopsi desain lebih rendah, kami melihat sepertinya tidak akan ada masalah dikemudian hari jika Hyundai benar-benar memberikan teknologi ini pada mobil mereka.

0 Komentar


Tambah Komentar