https://mobilku.s3.ap-southeast-3.amazonaws.com/assets/logoHeader.png
https://mobilku.s3.ap-southeast-3.amazonaws.com/assets/human-logo.png
https://mobilku.s3.ap-southeast-3.amazonaws.com/news/1000/98445f7c-4ca3-44df-acbe-92d55783066a.jpg
https://mobilku.s3.ap-southeast-3.amazonaws.com/news/1000/4807f1b2-3588-4e1c-914f-7a5992fb8ef3.jpg
https://mobilku.s3.ap-southeast-3.amazonaws.com/news/1000/2725559c-34c4-4be9-8023-9ec14ed2a2e0.jpg
https://mobilku.s3.ap-southeast-3.amazonaws.com/news/1000/2857ad3a-5369-4e88-a413-fb8f003877ba.jpg
https://mobilku.s3.ap-southeast-3.amazonaws.com/news/1000/91bd1ce1-b654-43d7-ac0b-2e3e60ae7eec.jpg
https://mobilku.s3.ap-southeast-3.amazonaws.com/news/1000/98445f7c-4ca3-44df-acbe-92d55783066a.jpg
https://mobilku.s3.ap-southeast-3.amazonaws.com/news/1000/4807f1b2-3588-4e1c-914f-7a5992fb8ef3.jpg

Hyundai Ajukan Paten Untuk Grille Unik Yang Bisa Tulis Pesan

14 October 2021

dilihat 214x

Mobilku.com - Beberapa tahun kebelakang ini teknologi otomotif semakin berkembang cepat. Jika kemarin ada Ford dengan lampu depan yang bisa berubah menjadi emoticon, kini giliran Hyundai yang mengeluarkan teknologi grille yang bisa mengirimkan pesan. 


Pihak Hyundai mengatakan bahwa teknologi ini akan digunakan untuk memberitahu bahwa mobil tersebut sedang ada dalam kondisi self-driving. Sederhananya, seperti sebuah penanda yang ada pada mobil latihan yang memberitahu mobil-mobil di sekitar jika sang pengemudi merupakan pemula.


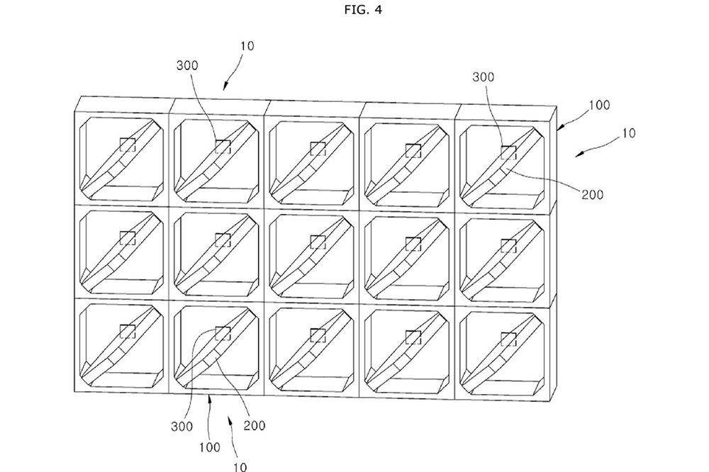
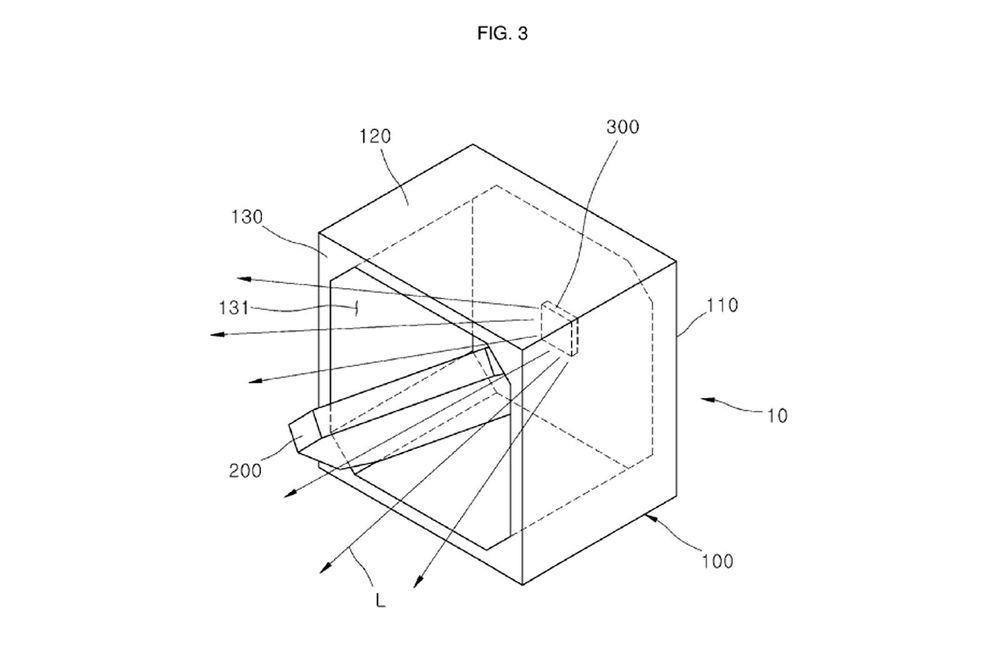
Pada dasarnya, paten teknologi yang diajukan oleh Hyundai adalah sebuah grille yang berfungsing layaknya seperti billboard berjalan agar orang disekitar memperhatikan mobil yang kita kendarai. 


Penggunaan grille ini juga tidak hanya dapat mengirimkan pesan, pihak pabrikan mengklaim bahwa layar tersebut dapat juga dikonfigurasikan sebagai sinyal belok, dan rambu hazard ketika mobil sedang berhenti atau mengalami kerusakan.


Namun yang pasti, tugas terbesar dari teknologi ini adalah untuk memberitahu mobil dan pejalan kaki sekitar dalam mode apa mobil itu berada, itulah sebabnya Hyundai sempat memasangkan sistem yang hampir serupa pada Ioniq 5 waktu pertama kali dipamerkan. Dan jika kami boleh membayangkan, tampilan seperti ini rasanya akan terlihat manis jika digunakan pada Staria.


Di kota-kota sibuk dan di sebagian besar jalan yang padat, kehadiran grille yang dapat mengirim pesan ini tentu akan sangat membantu untuk mengetahui kondisi kendaraan. 


Kami juga sangat yakin jika akan ada saja orang yang menyalahgunakan fitur tersebut untuk hal-hal aneh. Akan tetapi, alangkah baiknya jika fitur ini benar-benar hanya bisa difungsikan ketika mode self-driving sedang aktif.

0 Komentar


Tambah Komentar