https://mobilku.s3.ap-southeast-3.amazonaws.com/assets/logoHeader.png
https://mobilku.s3.ap-southeast-3.amazonaws.com/assets/human-logo.png
https://mobilku.s3.ap-southeast-3.amazonaws.com/news/1000/e0238765-d7cf-4b61-9dfd-3bf3061c1190.jpeg
https://mobilku.s3.ap-southeast-3.amazonaws.com/news/1000/b7df3897-e846-4f0d-81e9-49ffd40ef70e.jpeg
https://mobilku.s3.ap-southeast-3.amazonaws.com/news/1000/b7acb28b-9edb-4142-8332-3dc38ed9a740.jpeg
https://mobilku.s3.ap-southeast-3.amazonaws.com/news/1000/4eb916a0-6fe8-4546-adf9-b7d855f198ce.jpeg
https://mobilku.s3.ap-southeast-3.amazonaws.com/news/1000/ff1c088d-2c3b-4008-9d23-7ef87139bba5.jpeg
https://mobilku.s3.ap-southeast-3.amazonaws.com/news/1000/e0238765-d7cf-4b61-9dfd-3bf3061c1190.jpeg
https://mobilku.s3.ap-southeast-3.amazonaws.com/news/1000/b7df3897-e846-4f0d-81e9-49ffd40ef70e.jpeg

Honda Daftarkan Paten Canggih Yang Membuat Mobil Bisa Berpikir Seperti Manusia

31 March 2023

dilihat 352x

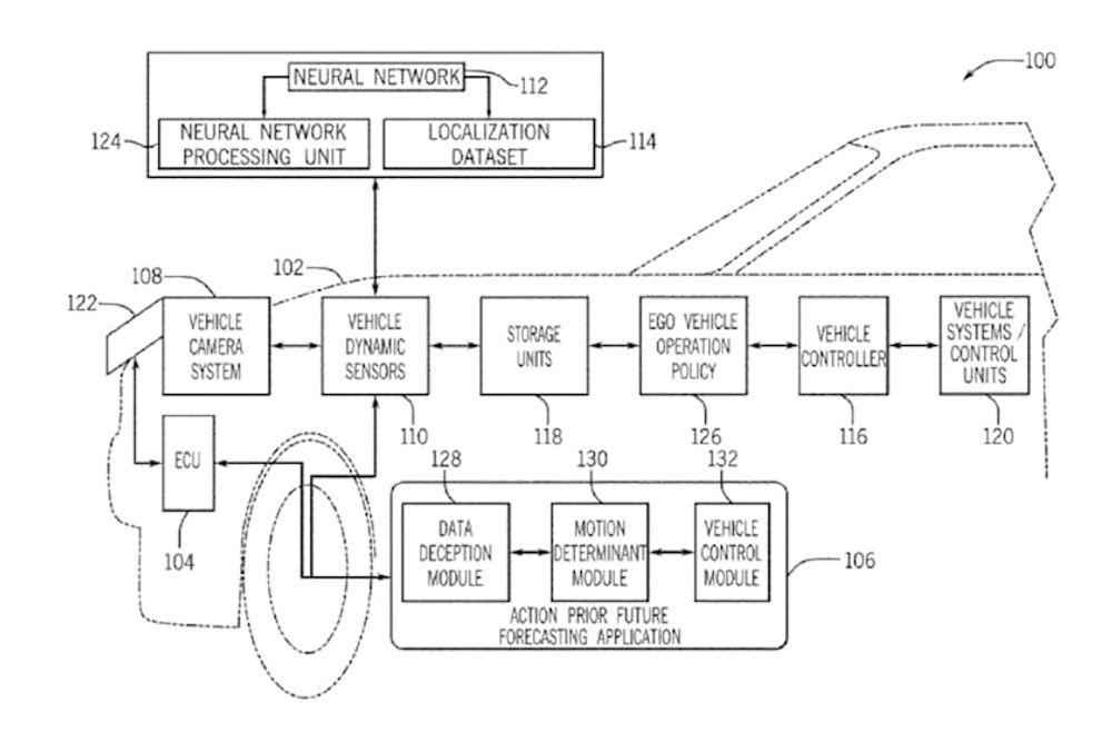
Mobilku.com - Honda belum lama ini telah kedapatan mengajukan sebuah paten untuk sistem yang akan membantu kendaraan otonom memprediksi tindakan pengguna jalan lain dengan lebih akurat.


Paten yang semula di daftarkan pada November 2019, belum lama ini telah diperbarui karena sistem otonom Honda sudah menjadi lebih canggih dan akan segera tersedia di mobil produksi.


Untuk memprediksi secara akurat apa yang akan dilakukan pengguna jalan lain di jalanan, Honda pertama-tama harus membangun database informasi raksasa yang disediakan oleh teknologi bernama Ego. Teknologi ini nantinya akan mengumpulkan data menggunakan sensor, LiDAR, dan kamera untuk menangkap seluruh kegiatan di jalanan.


Honda menyatakan bahwa sebagian besar algoritma peramalan hanya mengandalkan kamera stasioner, drone, norma sosial, konteks adegan (seperti penyeberangan pejalan kaki), dan hasil studi. Menurut Honda, masih dibutuhkan lebih banyak data untuk membangun sistem self-driving yang sempurna. Singkatnya, mobil harus bisa berpikir layaknya manusia.


Untuk mencapai pemikiran tingkat manusia, Honda akan mengolah semua data yang didapat oleh Ego. Dengan kata lain, Honda akan memasangkan Ego ke mobil pembeli agar data yang dikumpulkan lebih banyak dan variatif. Data dalam jumlah besar ini kemudian dapat digunakan untuk membuat algoritma tingkat tertinggi, membuat daya pikir Ai yang Honda ciptakan lebih mutakhir.


Dengan memasangkan Ego pada truk atau mobil pembeli, teknologi ini dapat mengidentifikasi apakah manusia sedang jogging, melompat di tempat, berdiri sambil berbicara di telepon, atau menunggu untuk menyeberang jalan, baik secara legal maupun ilegal. Ia bahkan dapat mengetahui usia manusia dan bagaimana mereka bereaksi dalam suatu situasi.


Cara ini memang mengundang perdebatan, terutama terkait tentang privasi. Honda setidaknya harus meminta izin sebelum mengakses data dari mobil pembeli. Namun, ada kemungkinan jika Honda mungkin akan membuka program tersebut hanya untuk pembeli yang mendaftar saja.


0 Komentar


Tambah Komentar