https://mobilku.s3.ap-southeast-3.amazonaws.com/assets/logoHeader.png
https://mobilku.s3.ap-southeast-3.amazonaws.com/assets/human-logo.png
https://mobilku.s3.ap-southeast-3.amazonaws.com/news/1000/096a2d20-39c8-4562-8e31-3fd917fb8b6b.jpeg
https://mobilku.s3.ap-southeast-3.amazonaws.com/news/1000/ceef6ed2-7992-4932-8713-6a3ee90daef5.jpeg
https://mobilku.s3.ap-southeast-3.amazonaws.com/news/1000/87c593dc-27e0-4939-a5ec-8af2e76b796e.jpeg
https://mobilku.s3.ap-southeast-3.amazonaws.com/news/1000/15ea02f8-feb4-4376-ad65-ab8295f0b7cb.jpeg
https://mobilku.s3.ap-southeast-3.amazonaws.com/news/1000/a4ff7c0b-041e-48c8-9bd2-33bc15f7503c.jpeg
https://mobilku.s3.ap-southeast-3.amazonaws.com/news/1000/096a2d20-39c8-4562-8e31-3fd917fb8b6b.jpeg
https://mobilku.s3.ap-southeast-3.amazonaws.com/news/1000/ceef6ed2-7992-4932-8713-6a3ee90daef5.jpeg

Honda Daftarkan Paten Bagasi Rahasia Yang Terletak Di Bumper Belakang

29 February 2024

dilihat 310x

Mobilku.com - Dalam permohonan paten yang diajukan ke Kantor Paten dan Merek Dagang Amerika Serikat (USPTO), Honda sepertinya berencana membangun ruang penyimpanan ekstra yang ditempatkan pada bumper belakang EV.


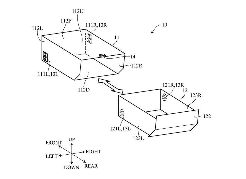
Dengan tidak adanya blok mesin dan saluran pembuangan pada mobil listrik, banyak ruang yang masih bisa digunakan untuk hal lain. Salah satu konsep yang ditawarkan oleh Honda ini adalah menghadirkan sebuah laci/rak yang ditempatkan di bagian bumper belakang.


Kompartemen penyimpanan di dalam bemper menyediakan tempat yang aman untuk meninggalkan paket sekaligus menjaga bagian mobil lainnya terlarang. Storage ini juga dirancang untuk dikunci dan dibuka secara terpisah dari pintu dan bagasi, dan bahkan memiliki AC sendiri sehingga paket dapat ditinggalkan tidak terkena panas.


Ruang yang dibutuhkan untuk kompartemen penyimpanan ini kemungkinan besar hanya tersedia di mobil listrik. Namun sepertinya, paten ini bukan untuk dikomersialkan, dan tidak diketahui untuk mobil apa. Honda mungkin bisa menemukan kegunaan paten ini di masa mendatang. Karena jujur, ini merupakan fitur yang cukup menarik.




0 Komentar


Tambah Komentar