https://mobilku.s3.ap-southeast-3.amazonaws.com/assets/logoHeader.png
https://mobilku.s3.ap-southeast-3.amazonaws.com/assets/human-logo.png
https://mobilku.s3.ap-southeast-3.amazonaws.com/news/1000/b384242e-cfb5-41e0-bb09-7abf4b920bec.jpg
https://mobilku.s3.ap-southeast-3.amazonaws.com/news/1000/613da35b-471d-448b-9592-2b09e4b7c412.jpg
https://mobilku.s3.ap-southeast-3.amazonaws.com/news/1000/ab3b4a76-1ed2-4f3d-9902-fdf26f88f22a.jpg
https://mobilku.s3.ap-southeast-3.amazonaws.com/news/1000/27945b95-4bb6-46a1-abc0-70ed186db137.jpg
https://mobilku.s3.ap-southeast-3.amazonaws.com/news/1000/b62b82ca-2ce7-4afb-a62e-7551b5639f7a.jpg
https://mobilku.s3.ap-southeast-3.amazonaws.com/news/1000/1d6a3e68-a947-4434-b88a-1b8dfe4183b7.jpg
https://mobilku.s3.ap-southeast-3.amazonaws.com/news/1000/b384242e-cfb5-41e0-bb09-7abf4b920bec.jpg
https://mobilku.s3.ap-southeast-3.amazonaws.com/news/1000/613da35b-471d-448b-9592-2b09e4b7c412.jpg

Ford Mulai Seriusi Teknologi Unik Untuk Kustomisasi Headlamp

05 October 2021

dilihat 197x

Mobilku.com - Teknologi pencahayaan pada kendaraan sejauh ini semakin terus berkembang. Salah satu yang cukup ternama adalah pengaturan LED milik Audi R8 yang sempat membuat heboh para pecinta otomotif karena kecanggihannya.


Saat ini sudah mulai banyak pabrikan mobil yang mulai menyadari bahwa konfigurasi lampu bisa menjadi nilai tambah bagi produk mereka. Jika sebelumnya Ford menciptakan custom lampu yang berfungsi untuk menemukan posisi kendaraan saat sedang diparkir, kini mereka sudah mengembangkannya menjadi lebih unik lagi.


Menurut sebuah laporan, Ford dilaporkan telah mendaftarkan sebuah dokumen paten yang berisi tentang teknologi penyesuaian lampu depan dan belakang sesuai dengan keinginan pemilik kendaraan.


Bahkan dalam salah satu paten yang didaftarkan, Ford bahkan menuliskan huruf ST didalamnya, membuat kami menduga-duga apakah mereka akan menghidupkan kembali Fusion ST project atau hanya sebuah ornamen saja.


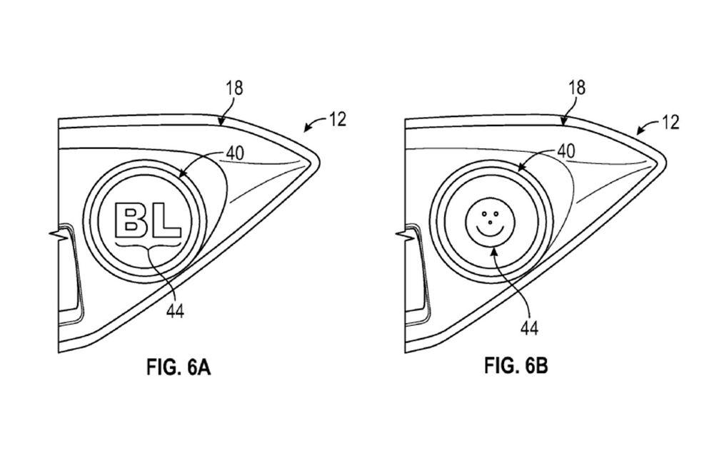
Pada dasarnya, cara kerja sistem lampu tersebut cukup simple. Menurut gambar patennya, headlamp tersebut akan memiliki lubang kecil yang memungkinkan pemasangan panel yang dapat dilepas-pasang. 


Setelah panel atau gambar yang diinginkan terpasang, lampu yang ada di belakangnya akan langsung menerangi secara terpisah, sehingga membuat gambar yang digunakan terlihat lebih menonjol saat lampu sedang dinyalakan.


Pengajuan paten tersebut juga menjelaskan bahwa sistem lampu baru itu dapat menyesuaikan tampilan lampu mulai dari lampu depan, lampu belakang, hingga indikator lampu sein. Tetapi ini masih belum jelas, apakah lampu-lampu tersebut benar-benar bisa dikustomisasi seluruhnya atau hanya ada beberapa opsi saja.


Kami mengira bahwa idenya datang dari keinginan pabrikan yang ingin memproduksi berbagai jenis tampilan lampu dengan cara yang mudah tanpa harus membuat ulang atau bahkan menghabiskan suku cadang. Seperti yang sudah kami katakan, teknologi ini juga berpotensi menjadi value tersendiri bagi jajaran produk Ford.


Selain itu, kami juga yakin bahwa kedepannya paten lampu ini akan bisa di-custom sesuai dengan keinginan pemilik kendaraan. Entah itu akan timbul emoticon, atau sekedar tulisan untuk pamer pada mobil yang ada di belakang.

0 Komentar


Tambah Komentar