https://mobilku.s3.ap-southeast-3.amazonaws.com/assets/logoHeader.png
https://mobilku.s3.ap-southeast-3.amazonaws.com/assets/human-logo.png
https://mobilku.s3.ap-southeast-3.amazonaws.com/news/1000/9d59e2f8-3b96-43d9-82a3-219025d2cf1d.jpg
https://mobilku.s3.ap-southeast-3.amazonaws.com/news/1000/1f552a96-650e-427f-863d-a81952e2470e.jpg
https://mobilku.s3.ap-southeast-3.amazonaws.com/news/1000/94d12cf3-a1e2-4ff9-87be-23dddcbe011f.jpg
https://mobilku.s3.ap-southeast-3.amazonaws.com/news/1000/fff321d7-e302-4291-8dde-9d7fd54b42f7.jpg
https://mobilku.s3.ap-southeast-3.amazonaws.com/news/1000/773aa848-da52-44c7-ab7d-24ea68a338c8.jpg
https://mobilku.s3.ap-southeast-3.amazonaws.com/news/1000/9d59e2f8-3b96-43d9-82a3-219025d2cf1d.jpg
https://mobilku.s3.ap-southeast-3.amazonaws.com/news/1000/1f552a96-650e-427f-863d-a81952e2470e.jpg

BMW Perkenalkan Konsep Steering Wheel Yang Lebih Unik Dari Tesla

07 January 2022

dilihat 315x

Mobilku.com - Saat ini terdapat banyak sekali desain steering wheel dengan bentuk dan fungsi yang aneh, tetapi dibalik anehnya desain tersebut selalu ada saja pabrikan otomotif yang ingin menyempurnakannya.


Salah satu yang sempat membuat heboh adalah steering wheel bergaya yoke yang dirilis oleh Tesla, disusul oleh Hyundai yang menambahkan layar pada steering wheelnya. Seolah tidak ingin ketinggalan tren, BMW belum lama ini juga telah memamerkan sebuah konsep steering wheel yang bukan hanya unik, tetapi diklaim memiliki fungsionalitas yang tinggi.


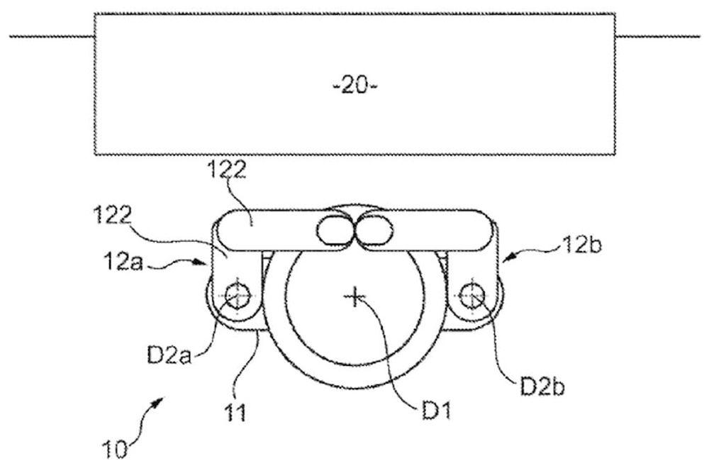
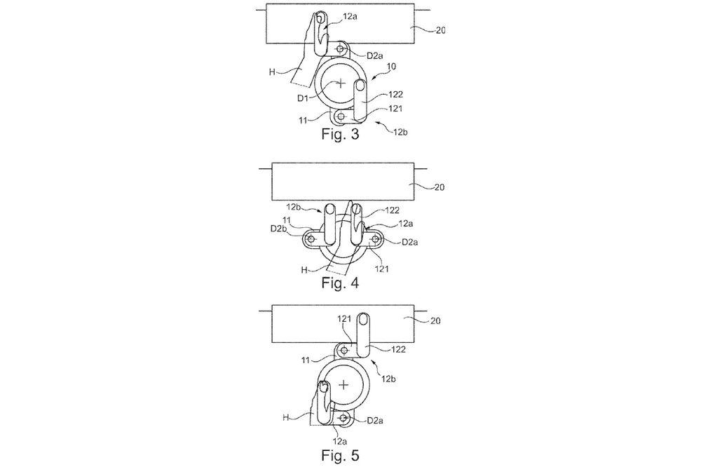
Desain steering wheel yang tidak biasa ini digambarkan sebagai kemudi yang memiliki daya grip yang sangat kokoh ketika digunakan oleh pengemudi. Dari desainnya saja, steering wheel ini memiliki tampilan serta tombol-tombol yang mirip dengan kuk steering wheel yang biasa digunakan pada mobil F1.


Untuk menyesuaikan dengan ukuran tangan manusia, handle yang lebih kecil dapat diatur sesuai dengan tingkat kenyamanan pengemudi. Bukan hanya itu, handle pada steering wheel tersebut bahkan bisa dilipat agar terkesan lebih rapi dan ergonomis.


Sempat timbul pertanyaan apakah penggunaan steering wheel seperti ini akan mempengaruhi kemampuan mengemudi? Sederhananya, tidak ada. Faktanya, gagang handle pada steering wheel bisa dicabut-pasang sesuai dengan keinginan pelanggan. Jika tidak cocok dengan gaya yoke atau kuk, BMW mungkin menawarkan paket gagang handle yang lebih besar layaknya steering wheel biasa.


Terlepas dari desainnya yang mungkin tidak biasa, kehadiran konsep steering wheel ini hanyalah cara BMW untuk menyalurkan kreatifitasnya pada ruang interior. Namun jika kami boleh menilai, konsep steering wheel keluaran BMW ini terkesan lebih “gila” dibandingkan dengan yang Tesla tawarkan tahun lalu.

0 Komentar


Tambah Komentar