https://mobilku.s3.ap-southeast-3.amazonaws.com/assets/logoHeader.png
https://mobilku.s3.ap-southeast-3.amazonaws.com/assets/human-logo.png
https://mobilku.s3.ap-southeast-3.amazonaws.com/news/1000/82b287b4-9abc-4f78-a0b0-015142f521e5.jpg
https://mobilku.s3.ap-southeast-3.amazonaws.com/news/1000/3039dbaf-556c-4a75-be66-cd3662ded1e9.jpg
https://mobilku.s3.ap-southeast-3.amazonaws.com/news/1000/c2aea2e5-041a-4456-8857-1d0d5fc407ae.jpg
https://mobilku.s3.ap-southeast-3.amazonaws.com/news/1000/db3a2b6a-6b4e-4ef0-aaaa-b8d185e38579.jpg
https://mobilku.s3.ap-southeast-3.amazonaws.com/news/1000/f82c1dfb-e01c-44be-bc21-6d098f049ba6.jpg
https://mobilku.s3.ap-southeast-3.amazonaws.com/news/1000/82b287b4-9abc-4f78-a0b0-015142f521e5.jpg
https://mobilku.s3.ap-southeast-3.amazonaws.com/news/1000/3039dbaf-556c-4a75-be66-cd3662ded1e9.jpg

BMW Daftarkan Paten Canggih Untuk Tempat Penyimpanan Kabin

29 October 2021

dilihat 246x

Mobilku.com - Sebagai salah satu pabrikan otomotif terbesar di Jerman, BMW selalu berusaha untuk terus berkembang. Hal tersebut lantaran mereka harus terus kompetitif agar mereka tidak disusul oleh pesaingnya seperti Mercedes dan juga Audi.


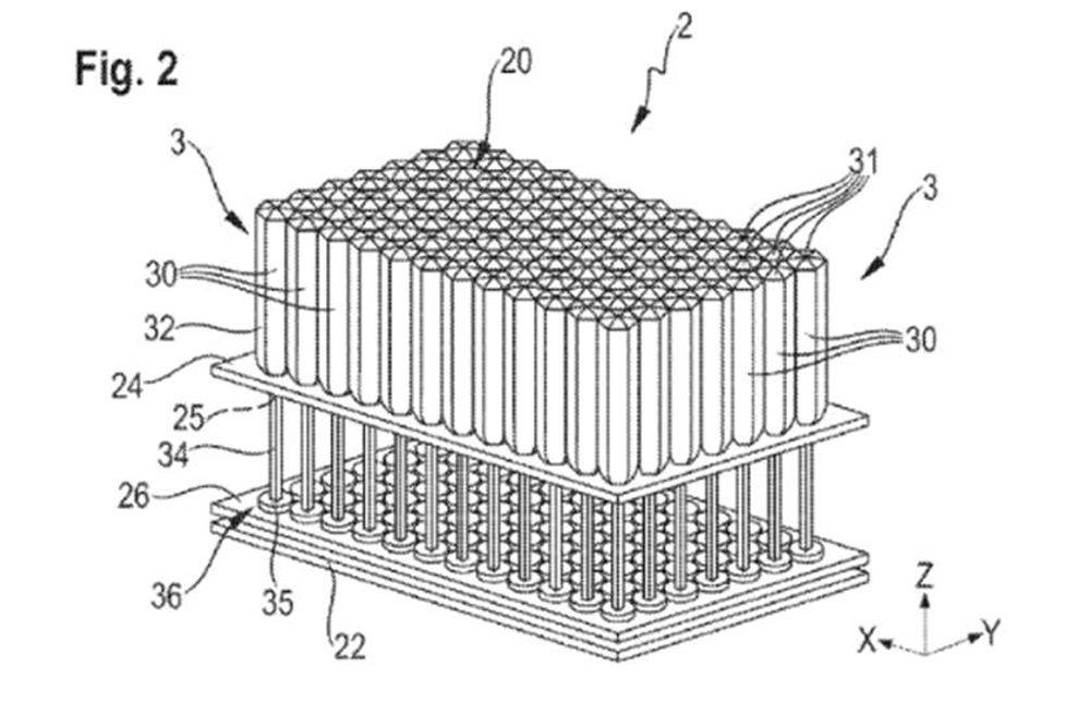
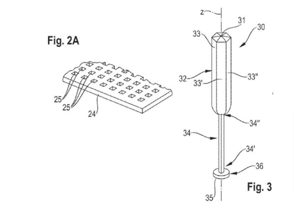
Dalam dokumen paten yang didaftarkan minggu ini, BMW dikabarkan telah mengadopsi teknik 3D print art board yang biasa ditemukan pada mainan anak-anak. Bagi yang kurang familiar dengan mainan tersebut, cara kerjanya mirip seperti pasir yang akan menahan segala objek sesuai dengan ukurannya.


Dalam dokumen paten tersebut, ide BMW adalah menciptakan ruang penyimpanan yang dapat berubah bentuk sesuai dengan objeknya yang ada diatasnya. Apa yang membuat paten ini menarik adalah setiap pin penyangga memiliki bagian ujung magnetik, memungkinkan setiap benda yang terbuat dari metal tetap menempel dengan kuat.


Pada dasarnya, teknologi ini akan mengubah tempat penyimpanan yang biasa digunakan untuk menaruh smartphone, dompet, atau barang lain-lainnya menjadi lebih aman dan tidak mudah berbenturan. Pihak BMW juga mengatakan bahwa kreasi ini merupakan solusi penyimpanan yang lebih baik, karena ada alas karet anti-slip yang siap menjaga barang-barang penting dari benturan keras. 


Dengan adanya teknologi ini, kalian bahkan dapat melempar ponsel kalian ke tempat penyimpanan tersebut tanpa perlu mengkhawatirkan akan tergores atau pecah. Selebihnya, fitur ini sangat cocok untuk mobil-mobil performance, karena pengemudi tidak perlu lagi mengkhawatirkan gadget miliknya terbentur saat mengemudi dengan kecepatan tinggi.

0 Komentar


Tambah Komentar