https://mobilku.s3.ap-southeast-3.amazonaws.com/assets/logoHeader.png
https://mobilku.s3.ap-southeast-3.amazonaws.com/assets/human-logo.png
https://mobilku.s3.ap-southeast-3.amazonaws.com/news/1000/4f9d4f5f-3a49-4b4f-9a05-e47f9d6429a0.jpg
https://mobilku.s3.ap-southeast-3.amazonaws.com/news/1000/ee89d6d7-0bc0-49c5-ae47-3e4dd95dc826.jpg
https://mobilku.s3.ap-southeast-3.amazonaws.com/news/1000/b4e611b2-5339-4d75-8f97-5e67ba1bc165.jpg
https://mobilku.s3.ap-southeast-3.amazonaws.com/news/1000/d42b60cf-fc9e-4437-9b11-e8219d8e2f84.jpg
https://mobilku.s3.ap-southeast-3.amazonaws.com/news/1000/baddbe17-bcdb-479c-8fe4-7f1ec00e65c7.jpg
https://mobilku.s3.ap-southeast-3.amazonaws.com/news/1000/84173787-6619-4cb4-9693-ea336a798b81.jpg
https://mobilku.s3.ap-southeast-3.amazonaws.com/news/1000/6e632b67-ff9c-4f2e-92d5-a94e4a462e50.jpg
https://mobilku.s3.ap-southeast-3.amazonaws.com/news/1000/465cf1b8-2651-49aa-93b2-aebee1c5f146.jpg
https://mobilku.s3.ap-southeast-3.amazonaws.com/news/1000/4f9d4f5f-3a49-4b4f-9a05-e47f9d6429a0.jpg
https://mobilku.s3.ap-southeast-3.amazonaws.com/news/1000/ee89d6d7-0bc0-49c5-ae47-3e4dd95dc826.jpg

Bisa Gelap dan Terang Sendiri! Apple Daftarkan Paten Teknologi Kaca Film Otomatis

30 November 2020

dilihat 429x

Mobilku.com - Apple sepertinya masih bungkam terkait proyek mobil otonomnya. Di satu sisi mereka terlihat akan beralih untuk mengembangkan perangkat lunak mobil otonom, sampai akhirnya perusahaan yang dipimpin oleh Tim Cook tersebut menandatangani kesepakatannya dengan Volkswagen untuk mengembangkan van tanpa pengemudi.


Namun, dari paten baru yang diajukan oleh Apple ke US Patent and Trademark Office menunjukkan bahwa sepertinya Apple masih bekerja keras untuk mengembangkan teknologi mobil otonom. Hal ini termasuk sistem tingkat kegelapan kaca film yang dapat diatur secara otomatis.


Teknologi ini menawarkan sejumlah manfaat, mulai dari menghalangi sinar matahari masuk hingga meningkatkan tingkat privasi penumpang untuk mencegah pencuri melihat kedalam kabin. Teknologi milik Apple ini mampu mengatur tingkat visibilitas kaca film di jendela sesuai dengan keinginan pengguna.


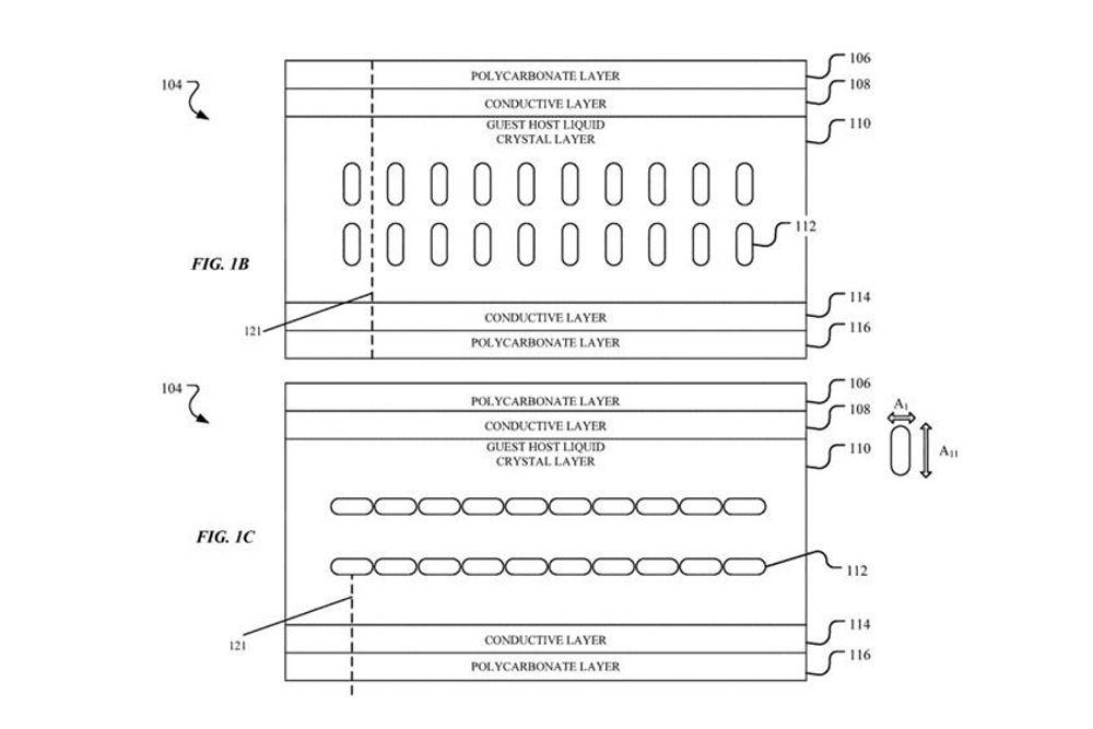
Paten teknologi jendela ini bernama "devices with guest-host liquid crystal modulators". Dengan teknologi ini jendela akan memiliki beberapa lapisan untuk memblokir berbagai jenis cahaya, memungkinkan tingkat intensitas cahaya yang berbeda dapat disetel sesuai keinginan. Beberapa sensor di dalam mobil nantinya akan mengirim data ke komputer untuk menganalisa kondisi cahaya, lalu secara otomatis komputer akan mengubah tingkat kegelapan cahaya dalam mobil.


Misalnya, jika sensor mendeteksi bahwa visibilitas pengemudi buruk, maka secara otomatis sensor akan menyesuaikan cahaya nya sesuai dengan kebutuhan. Begitu pula jika sensor menangkap interiornya terlalu terang atau terlalu panas, maka sistem akan meningkatkan ketebalan kaca film agar kabin lebih nyaman dan redup.


Bahkan dengan memanfaatkan koordinat GPS, sistem ini juga dapat mendeteksi apakah mobil sedang dikendarai di dalam kota atau di jalan raya, dan akan menyesuaikan tingkat kebutuhannya. Teknologi ini bahkan dapat menentukan jumlah penumpang di dalam mobil dan mengubah tingkat kaca film sesuai kebutuhan.


Apple berkeyakinan bahwa teknologi ini akan sangat diperlukan karena kaca film konvensional tidaklah cukup melindungi penumpang dari paparan sinar matahari dan cahaya lainnya. Selain itu, kaca film yang ada saat ini juga gagal memberikan privasi yang memadai untuk para pemilik kendaraan.


Namun pada akhirnya, teknologi dalam paten ini mungkin saja tidak akan dikembangkan lebih lanjut. Akan tetapi setidaknya, hal tersebut telah menunjukkan bahwa Apple masih meneliti dan serius pada teknologi otomotif. Bahkan jika Apple Car tidak jadi hadir di pasaran, teknologinya masih berpotensi untuk dilisensikan ke produsen lain.

0 Komentar


Tambah Komentar